Студопедия

Главная страница Случайная страница

КАТЕГОРИИ:

АвтомобилиАстрономияБиологияГеографияДом и садДругие языкиДругоеИнформатикаИсторияКультураЛитератураЛогикаМатематикаМедицинаМеталлургияМеханикаОбразованиеОхрана трудаПедагогикаПолитикаПравоПсихологияРелигияРиторикаСоциологияСпортСтроительствоТехнологияТуризмФизикаФилософияФинансыХимияЧерчениеЭкологияЭкономикаЭлектроника






Устройство круглошлифовального центровогостанка






 

Эти станки предназначены для продольного и врезного шли­фования наружных цилиндрических, пологих конических и торцовых поверхностей заготовок с установкой заготовок в центрах или патроне.

Станок состоит из станины 18 с направляющими (см. рис. 1, б), на которых смонтирован нижний стол 20, несущий на себе поворотный верхний стол 19, с установленными на нем передней 2 и задней 12 бабками. В задней бабке предусмотрены рукоятки 11 для ручного зажима пиноли бабки. Верхний стол 19 при шлифовании конусов может поворачиваться вокруг оси 16, закрепленной на нижнем столе 20. Ручное перемещение нижнего стола по направляющим станины осуществляется от маховика 17 через специальный механизм, а механическое — от гидравлического цилиндра, находящегося в станине.

На задней стороне станины на поперечных направляющих смон­тирована шлифовальная бабка 7 с механизмом быстрого подвода шлифовального круга к заготовке. На корпусе шлифовальной бабки закреплен механизм 8 поперечных подач с маховиком 6 для ручного поперечного движения подачи, рукоятками включения автоматических подач и дросселями регулирования скорости чер­новой и чистовой подач. Здесь же установлен механизм 5 автома­тической правки круга.

На лицевой стороне станины расположена панель гидроуправ­ления 14 с рукояткой 13 быстрого подвода-отвода шлифовальной бабки и дросселями регулирования реверса и скорости стола. Педалью 15 производтся гидравлический отвод пиноли задней бабки 12.

Па стойке смонтирован пульт управления 9 с пусковыми кнопками и переключателями. С левой стороны станка расположен элек- трошкаф 1, а с правой — гидростанция 10. Подача СОЖ осуще­ствляется рукояткой 3. При необходимости на станке может быть установлен люнет 4.

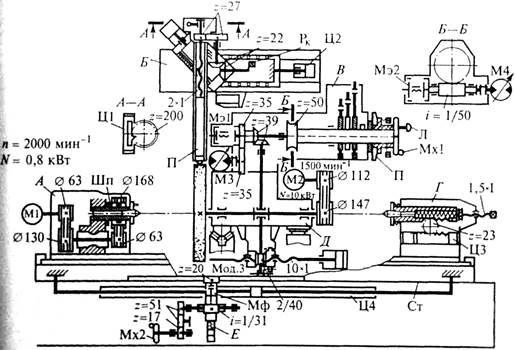
Главное движение резания — вращение шлифовального круга, установленного на шлифовальной бабке Д (рис. 3), производится от электродвигателя М2 через клиноременную передачу Ø 112/ Ø 147. Уравнение кинематической цепи главного движения имеет следу­ющий вид:


 

где nшк — частота вращения шлифовального круга, мин-1; 0, 985 — коэффициент скольжения ремня.

Круговое движение подачи — вращение шлифуемой заготовки на передней бабке А — производится от электродвигателя Ml посто­янного тока с бесступенчатым регулированием частоты вращения

Рисунок 3 Кинематическая схема центрового круглошлифовального

станка:

А — передняя бабка; Б — устройство правки шлифовального круга; В — механизм подачи; Г — задняя бабка; Д — шлифовальная бабка; Е — механизм ручного перемещения стола; П — пиноль устройства правки; JI — лимб; М1, М2 — элек­тродвигатели; МЗ, М4 — гидродвигатели; Mxl, Мх2 — маховики; Мф — муфты; Мэ1, Мэ2 — муфты электромагнитные; Ц1, Ц2, ЦЗ и Ц4 — гидроцилиндры; Шп — шпиндель; Рк — рукоятки; Ст — нижний стол

 

посредством двух клиноременных передач: Ø 63/ Ø 130 и Ø 63/ Ø 168, обеспечивающих частоту вращения шпинделя 40...400 мин -1. В пе­редней бабке шпиндель Шп с центром неподвижен и вращение заготовки осуществляется от поводка планшайбы.

Ручное перемещение стола происходит от механизма Е при вра­щении маховика Мх2, от которого движение передается нижнему столу Ст через зубчатые колеса z=17/51/51, червячную передачу i= 1/31, муфту Мф, реечное колесо z = 20 и рейку, закрепленную на нижнем столе.

Продольное гидравлическое перемещение стола осуществляется от гидравлического цилиндра Ц4, установленного неподвижно на станине. Концы штоков поршня цилиндра прикреплены к нижнему столу Стстанка. Скорость перемещения стола составляет 0, 5......5 м/мин.

Ручное поперечное движение подачи шлифовальной бабки произ­водится механизмом подачи Вс помощью маховика Мх1 при включенной электромагнитной муфте Мэ1, вращение которого через коническую z = 39/39 и червячную i= 2/40 передачи передается на шариковую гайку винта 10х1 поперечного движения подачи.

Быстрое установочное перемещение шлифовальной бабки к заго­товке выполняется от гидродвигателя МЗ при выключенной электромагнитной муфте Мэ1. В этом случае движение от гидродвигателя через зубчатые колеса z = 35/35 и указанную кинематическую цепь передается винту 10х1 поперечного движения подачи.

Непрерывные автоматические подачи шлифовальной бабки про­изводятся от гидродвигателя М4 при включенной электромагнитной муфте Мэ2 через червячную передачу i = 1/50, муфту Мэ1 и далее через указанную кинематическую цепь на винт 10 х 1 поперечного движения подачи. При этом движении происходит вращение маховика Мх1 с лимбом JI.

Электромагнитная муфта Мэ2 включаетпериодическое автома­тическое движение подачи шлифовальной бабки.

Движение при правке шлифовального круга обеспечивает одно- или двухпроходную правку по гладкому или ступенчатому копиру. Продольное перемещение устройства правки Б вдоль образующей круга осуществляется от гидроцилиндра Ц2. Поперечное движение подачи пиноли П с алмазом на глубину правки производится: вручную — от рукоятки Ркчерез конические колеса z = 22/22 и цилиндрические z=27/27 и далее передается на винт 2х1 пино­ли; автоматически — от гидравлического цилиндра Ц1 (см. сеч. А—А) через плунжер с собачкой, находящейся в зацеплении с храповым колесом z = 200, и далее на винт 2х1 пиноли.

Перемещение пиноли с центром задней бабки Г осуществляется автоматически от поршня-рейки гидроцилиндра ЦЗ через зубчатое колесо z = 23 или вручную при вращении винта 1, 5 х 1.

Шлифовальная бабка (рис. 4). Вращение шпинделю 14 круга 13 сообщается от электродвигателя через клиноременную передачу 5 на шкив 4.

Шпиндель смонтирован в корпусе 1 на двух трехвкладышных гидродинамических подшипниках скольжения 2. В подшипники от насоса смазывания подается под давлением масло, образующее масляный клин между шейкой шпинделя 14 и вкладышами подшипника 2. В осевом направлении шпиндель уста­навливается по бурту между сферическими кольцами 10 и 12, закрепленными в неподвижной обойме 11 с помощью гайки 9 и контргайки 8. Поперечное движение подачи шлифовальной бабки по направляющим качения 6 станины 7 осуществляется от механизма поперечных подач, установленного на станине.

Устройство автоматической правки круга уста­навливается на шлифовальной бабке 1 (рис. 5). Копирная система обеспечивает правку наружной поверхности круга по заданному профилю. Включение устройства происходит или автоматически от срабатывания реле счета обработанных заготовок, или вручную — от кнопки. Устройство смонтировано на каретке 3, перемещаемой штоком 20 гидроцилиндра вдоль круга по роликовым направляющим 2 шлифовальной бабки 1. Скорость движения штока регулируется бесступенчато дросселем. К каретке 3 привинчены направляющие несущие суппорт 13 с пинолью 18 и установленным на ней алмазодержателем 19 с алмазом. Каретка под действием пружин прижимается к копиру 15, неподвижно укрепленному на шлифовальной бабке 1. Копир может точно выставляться с помощью винтов 16 и 17. Перемещение пиноли 18 в суппорте 13 осуществляется от ходового винта 12, получающего вращение от маховика Мх через вал 14 и пару зубчатых колес 7 и 5 или от храпового колеса 6, периодически поворачиваемого собачкой гидравлического плунжера 4. Устранение зазора в резьбе между ходовым винтом 12 и полугайками 9 и 11осуществляется пружиной 10.

 
 

Рисунок 4 Шлифовальная бабка круглошлифовапьного станка:

1 — корпус; 2 — подшипник скольжения; 3 — крышка; 4 — шкив; 5 — клиноременная передача; б — направляющие качения; 7— станина; 8 — контргайка; 9 — гайка; 10 и 12— кольца; 11 — обойма; 13 — шлифовальный круг; 14— шпиндель

Рисунок 5 Устройство автоматической правки шлифовального круга:

1 — шлифовальная бабка; 2 — роликовые направляющие; 3 — каретка; 4 — плунжер; 5 и 7 — пара цилиндрических зубчатых колес; 6 — храповое колесо; 8 — шариковые направляющие качения; 9 и 11 — полугайки; 10 — пружина; 12 — ходовой винт; 13 — суппорт; 14— вал; 15— копир; 16, 17— винты; 18— пиноль; 19 — алмазодержатель; 20 — шток гидроцилиндра; Мх — маховик

 


Поделиться с друзьями:

mylektsii.su - Мои Лекции - 2015-2026 год. (1.401 сек.)Все материалы представленные на сайте исключительно с целью ознакомления читателями и не преследуют коммерческих целей или нарушение авторских прав Пожаловаться на материал