Студопедия

Главная страница Случайная страница

КАТЕГОРИИ:

АвтомобилиАстрономияБиологияГеографияДом и садДругие языкиДругоеИнформатикаИсторияКультураЛитератураЛогикаМатематикаМедицинаМеталлургияМеханикаОбразованиеОхрана трудаПедагогикаПолитикаПравоПсихологияРелигияРиторикаСоциологияСпортСтроительствоТехнологияТуризмФизикаФилософияФинансыХимияЧерчениеЭкологияЭкономикаЭлектроника






D-триггер со статическим управлением






(микросхема К155ТМ7)

 

Соответствие выводов микросхемы К155ТМ7 светодиодам испытательного стенда показано на рисунке 2.13, а условное обозначение микросхемы на рисунке 2.14.

 

Задания:

1. Вставить печатную плату с микросхемой К155ТМ7 в разъем испытательного стенда.

2. Подключить испытательный стенд к источнику постоянного напряжения 5 В с соблюдением полярности (провод в изоляции красного цвета подсоединяют к выводу " +" источника).

3. Составить временную диаграмму работы одного из 4-х D-триггеров микросхемы К155ТМ7 (рис. 2.15). Дать ответ на вопрос, в какой момент времени (по фронту, во время действия или по спаду синхронизирующего импульса) происходит передача информации с информационного входа на выход.

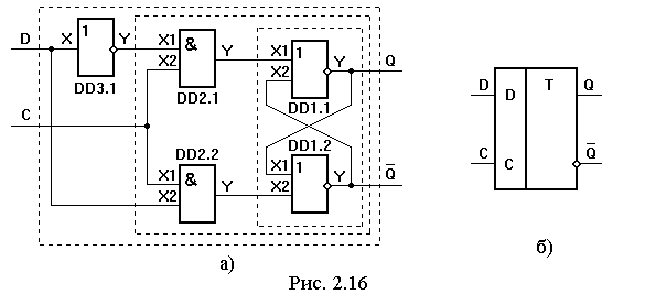
4. Объяснить принцип работы D-триггера по функциональным схемам, приведенным на рисунках 2.16, 2.17.

 


Поделиться с друзьями:

mylektsii.su - Мои Лекции - 2015-2026 год. (1.487 сек.)Все материалы представленные на сайте исключительно с целью ознакомления читателями и не преследуют коммерческих целей или нарушение авторских прав Пожаловаться на материал