Студопедия

Главная страница Случайная страница

КАТЕГОРИИ:

АвтомобилиАстрономияБиологияГеографияДом и садДругие языкиДругоеИнформатикаИсторияКультураЛитератураЛогикаМатематикаМедицинаМеталлургияМеханикаОбразованиеОхрана трудаПедагогикаПолитикаПравоПсихологияРелигияРиторикаСоциологияСпортСтроительствоТехнологияТуризмФизикаФилософияФинансыХимияЧерчениеЭкологияЭкономикаЭлектроника






Аппаратура и методика исследований






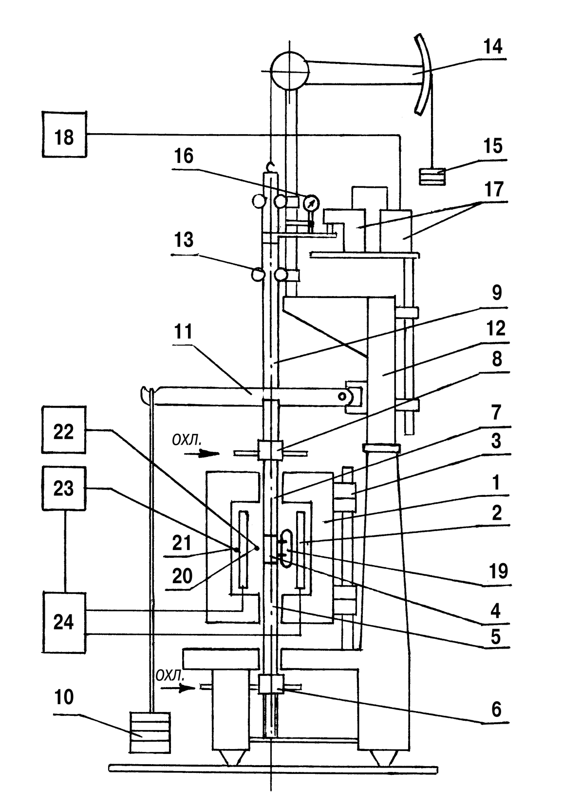
Для определения высокотемпературной деформации и ползучести проводят испытания на однопозиционной установке, при температурах до 1550 и нагрузках до 5 МПа методом одноосного сжатия. Особенностью ее является исключение «концевых эффектов», то есть регистрация изменения линейных размеров (длины) образца лишь в зоне равномерного распределения напряжений.

Принципиальная схема установки показана на рис. 2.1. Она состоит из электрической печи 1 с карбидокремниевыми нагревателями 2, расположенными в футеровке печи параллельно оси образца. Печь имеет разъем, плоскость которого делит ее на две симметричные половины, скрепленные между собой при помощи шарниров 3. Это позволяет легко открывать и закрывать печь во время замены испытываемого образца 4. При раскрытом положении печи образец устанавливают на нижний нагружающий стержень из карбида кремния 5, который закреплен в обойме с охлаждающей рубашкой 6. Перемещение нижнего стержня по высоте регулируется установочным болтом. После установки верхнего нагружающего стержня 7 на образец диаметром 36 мм и высотой 50 или 76 мм печь закрывается.

Верхний карбидокремниевый стержень закреплен в обойме с охлаждающей рубашкой 8. Обойма связана с помощью соединительной регулировочной гайки с нагрузочным штоком 9.

Нагрузка осуществляется грузами 10 посредством рычага 11, укрепленного двойным шарниром на главной стойке 12 установки и опирающегося на шариковый ролик нагрузочного штока 9. Возможна более точная регулировка вертикального положения штока с помощью направляющих роликов 13. Шток соединен через трос с рычагом 14, на другом конце которого подвешен груз 15, уравновешивающий всю нагрузочную систему. Показания деформации образца и расширения измерительной системы снимаются датчиками двух типов: механическим индикатором часового типа 16 с ценой деления 0, 01 мм и индукционным датчиком 17 с последующей регистрацией на ПК 18. Изменение линейных размеров самого образца определяется визуально катетометром В-630 (по расстоянию между двумя стерженьками) через сквозное смотровое окно 19 печи. Технология изготовления образцов приведена ниже.

Рис. 2.1. Принципиальная схема однопозиционной установки: 1 – печь; 2 – нагреватели; 3 – шарнир; 4 – образец; 5 и 7 – нагружающие стержни; 6 и 8 – охлаждающие рубашки; 9 – шток; 10 – грузы; 11 – рычаг; 12 – стойка; 13 – направляющие ролики; 14 – трос; 15 – уравновешивающий груз; 16 – индикатор; 17 – самописец; 18 – индукционный датчик; 19 – смотровое окно; 20 и 21 – термопара; 22 и 23 – приборы контроля и регулирования температуры; 24 – система управления

 

Температура измеряется двумя платина-платинородиевыми термопарами ПП-1, одна (20) из которых расположена около образца для контроля температуры, а вторая (21) установлена рядом с нагревателями печи для регулирования температурного режима. Установка имеет приборы контроля 22 и электронного программного регулирования температуры нагрева 23. Система автоматического управления 24 дает возможность во время эксперимента задавать необходимый характер изменения температуры.

Образцы-цилиндры для испытаний готовились двух типоразмеров. Образец диаметром 36 мм. и высотой 50 мм. выпиливался из испытуемого изделия согласно ГОСТ 4070-2000, либо изготовлялся из соответствующего состава формованием. Второй тип образца того же диаметра имел высоту 76 мм. При помощи специального приспособления в образец второго типа вставляются два корундовых стерженька диаметром 1-1, 5 мм, которые располагаются на образующей линии, а их концы выступают от поверхности на 3-4 мм (рис. 2.2). Расстояние от торца цилиндра до стерженька равно радиусу образца. Это сделано с целью исключения от измерений зоны неравномерной деформации образца. Стерженьки служат отметками при измерениях деформации с помощью катетометра и обеспечивают хорошую различимость при высоких температурах, когда контуры образца размываются от излучения нагревателей. Для улучшения видимости стерженьков смотровое окно дополнительно подсвечивается лампочкой (рис. 2.3).

Рис. 2.2. Образец со стерженьками из корунда для измерения деформации катетометром

 

Рис. 2.3. Схема измерения деформации катетометром: 1 – карбидокремниевый нагружающий стержень; 2 - образец; 3 - смотровое окно в футеровке печи; 4 - катетометр; 5 – лампа

 

 

Скорость деформации ползучести определяется по формуле:

ε = Dl / l × t мм/(мм× ч), (2.1)

где Dl - абсолютная величина деформации, мм

l - начальная длина образца, мм

t - время, ч

 

Погрешность измерений не превышает 10%.

Учитывая, что на механические свойства, в том числе и на ползучесть может оказывать влияние градиент температур по сечению образца (он может составлять более 500С), нами был выполнен специальный эксперимент на цилиндрическом образце корундового состава. Для измерения температуры в центре образца диаметром 36 мм (по его оси) было сделано сквозное отверстие, диаметром 2 мм для установки термопары Т1 (рис. 2.4). Для определения температур с внешней стороны образца устанавливались по образующей две термопары Т2 и Т3.

 

 

 

Рис. 2.4. Схема измерения градиента температур в образце термопарами по сечениям: I – центральному, II в нижней и III – верхней торцевой части образца

Результаты измерений показали, что градиент температур от центра образца по сечению, перпендикулярному оси, возрастает от 5 до 150С при повышении температуры в печи с 1000 до 15000С.

При более низких температурах печи, градиент температурный был незначительным по величине. При смещении термопар Т1, Т2 и Т3 (рис. 2.4) к верхней и нижней торцевой части образца, градиент практически не отличался от градиента в его средней части. Таким образом, можно считать, что распределение температуры в образце является достаточно равномерным, а это свидетельствует о равномерности температуры в центральной зоне самой печи.

 


Поделиться с друзьями:

mylektsii.su - Мои Лекции - 2015-2026 год. (1.476 сек.)Все материалы представленные на сайте исключительно с целью ознакомления читателями и не преследуют коммерческих целей или нарушение авторских прав Пожаловаться на материал