Студопедия

Главная страница Случайная страница

КАТЕГОРИИ:

АвтомобилиАстрономияБиологияГеографияДом и садДругие языкиДругоеИнформатикаИсторияКультураЛитератураЛогикаМатематикаМедицинаМеталлургияМеханикаОбразованиеОхрана трудаПедагогикаПолитикаПравоПсихологияРелигияРиторикаСоциологияСпортСтроительствоТехнологияТуризмФизикаФилософияФинансыХимияЧерчениеЭкологияЭкономикаЭлектроника






Расчет коэффициента теплопередачи






1. Определение расхода горячей воды (из уравнения теплового баланса).

Qrop ~ ^хол

G*C(T1-T2) = g*c(t2-t1) g = v *рх, кг/с G = V * Рг, кг/с


Где

v, V - объемный расход холодной и горячей воды, м/с

рх, рг- плотность холодной и горячей воды, кг/м

с, С - удельная теплоемкость холодной и горячей воды



 


2. Определение коэффициента теплопередачи (из основного уравнения теплопередачи).

Где п = 3 - число элементов л ='3, 14

d = диаметр внутренней трубы, м L = длина трубы, м

3. Полученное значение коэффициента теплопередачи сравнивают с К, определенный расчетным путем.



 


Где, ос2 - коэффициенты теплоотдачи, рассчитывают через критерии

теплового подобия, Вт/м2

- толщина стенки внутренней трубы, м

- термическое сопротивление загрязнений для воды среднего качества,
м2*К/Вт.

- коэффициент теплопроводности для стали, Вт/(м*К)

 

4. Выводы по работе. Вопросы для самопроверки

 

1. 1. В чем сущность теплопередачи? Основное уравнение теплопередачи.

2. Что представляет собой коэффициент теплопередачи и как он
подсчитывается для однослойной и многослойной плоских стен?

3. Какие виды теплообменников вы знаете?

4. Что является основной расчетной величиной в теплообменниках?

5. Что такое средний температурный напор и как он определяется?

6. Какие методы расчета коэффициента теплопередачи вы знаете?

7. Как определяется тепловая нагрузка теплообменника?


ЛАБОРАТОРНАЯ РАБОТА 9

" Сушка материалов воздухом"

Цель работы:

1 Изучить основные закономерности сушки с использованием
диаграммы Рамзина.

2 Установить зависимость скорости сушки материала от времени и
определить коэффициент скорости сушки.

/. Сущность и виды сушки

Сушка -термический процесс удаления влаги из влажных материалов путем ее испарения. Сушка находит широкое применение в производстве катализаторов, гранулированных каучуков и порошкообразных материалов, в резиновой промышленности для удаления влаги из шинного корда.

В зависимости от характера подвода тепла различают следующие виды сушки: 1. Конвективную (материал контактирует с горячим воздухом).

•■ ■ ■ п: 2. Контактную (материал нагревается горячим теплоносителем через стенку

сушилки).

3. Специальные: радиационная, диэлектрическая, сублимационная. Радиационная сушка - это сушка инфракрасными лучами. Диэлектрическая сушка - это сушка токами высокой частоты. Сублимационная сушка - это сушка в замороженном состоянии в глубоком вакууме, при которой лед непосредственно переходит в пар.

Наибольшее распространение в промышленности находит конвективная сушка.

Форма связи влаги с материалом определяется энергией отрыва 1 моль влаги от абсолютно сухого вещества. По величине этой энергии есть 4 формы связи: химическая, адсорбционная, капиллярная и осмотическая.

Наиболее прочная ХИМИЧЕСКАЯ связь разрушается химической реакцией или высокой температурой, а не сушкой.

АДСОРБЦИОННАЯ - связь мономолекулярного слоя влаги с наружной и внутренней (поры) поверхностью влаги.

ОСМОТИЧЕСКАЯ - связь влаги внутри клеток в растворах твердых веществ (влага набухания).

Адсорбционная связь прочнее осмотической. Они характерны для полимеров и коллоидов.

КАПИЛЛЯРНАЯ - связь влаги с материалом капиллярными силами и смачиванием.

Слабее всего влага связана с наружной поверхностью материала, прочнее
всего - с микрокапиллярами. - -|

Различают свободную и связанную влаги. Скорость испарения свободной влаги с поверхности материала равна скорости испарения с поверхности воды.

В каждом способе материал контактирует с влажным газом (воздухом). При конвективной сушке воздух отдает влажному материалу тепло и уносит испарившуюся влагу, т.е. служит тепло- и влагоносителем. При других способах воздух используется лишь для удаления влаги.


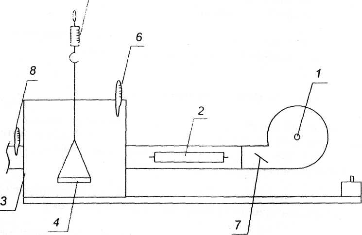
//. Схема установки

1 - вентилятор

2 - электроподогреватель воздуха

3 - сушильная камера

4 - поток для материала

5 — весы

6 — термометр для измерения температуры воздуха, поступающего в

сушильную камеру (после подогревателя)

7 - шибер для регулирования подачи воздуха

8 - психрометр

///. Техника безопасности при работе

1. Установку включать только в присутствии преподавателя или лаборанта, v. в

2. Сначала включить вентилятор, затем - подогреватель. Если не будет
работать вентилятор, подогреватель не включать!

3. При остановке сначала выключить подогреватель, затем через 2 минуты

; ■ > ВЫКЛЮЧИТЬ ВвНТИЛЯТОр. >

| IV. Порядок проведения опыта;: ifcr =

. Подготовить для сушки материал заданной влажности.

2. Включить вентилятор, затем - подогреватель воздуха. Установить заданный расход воздуха w прогреть сушильную камеру до температуры 50-120°С (по указанию преподавателя).


3. Поместить влажный материал в лоток в чаше весов, закрыть сушильную камеру, записать время начала опыта, показания стрелки весов, термометра, психрометра

4 Записывать 5 показаний всех приборов через каждые 5 минут. Температуру
воздуха на входе в сушильную камеру поддерживать постоянной, регулируя
подогрев воздуха реостатом

5 Результаты опыта свести в таблицу

Таблица опытных и расчетных данных

 

 

 

Время т (мин) Показания стрелки весов (г) G Температура j Показания воздуха на входе i психрометра в сушилку ti, °C ' Поверхность высушив, материала (м2) Скорость сушки (г/м2с) N Влажность, отнесенная к сухому материалу и%
  __ [_ 1Сг _^ tHT
               
               

 


Поделиться с друзьями:

mylektsii.su - Мои Лекции - 2015-2026 год. (3.338 сек.)Все материалы представленные на сайте исключительно с целью ознакомления читателями и не преследуют коммерческих целей или нарушение авторских прав Пожаловаться на материал