Студопедия

Главная страница Случайная страница

КАТЕГОРИИ:

АвтомобилиАстрономияБиологияГеографияДом и садДругие языкиДругоеИнформатикаИсторияКультураЛитератураЛогикаМатематикаМедицинаМеталлургияМеханикаОбразованиеОхрана трудаПедагогикаПолитикаПравоПсихологияРелигияРиторикаСоциологияСпортСтроительствоТехнологияТуризмФизикаФилософияФинансыХимияЧерчениеЭкологияЭкономикаЭлектроника






Лабораторная работа 13






Тема: Определение характеристик центробежного вентилятора.

Работа центробежного вентилятора на сеть. Цель: построение экспериментальных характеристик вентилятора и сети

и определение параметров рабочей точки.

Введение:

Вентиляторами называют машины, предназначенные для перемещения газов при атмосферном давлении или близком к нему. Перемещаемый газ подвергается в вентиляторе незначительному сжатию - разность давлений газа после вентилятора и до него не превышает 104 Па (0, 1 кгс/см2 или 1000 мм вод. ст.), а обычно бывает много меньше. По устройству вентиляторы разделяют на центробежные и осевые. Центробежные вентиляторы создают большую разность давлений, чем осевые.




 


Рисунок 1 Схема центробежного вентилятора где 1 - корпус; 2 - рабочее колесо

Сжатие и перемещение газа в центробежном вентиляторе происходит под действием центробежной силы, возникающей при вращении с большой скоростью рабочего колеса 1 вентилятора (рис.1). Это колесо имеет изогнутые лопатки, между которыми проходит газ. Газ всасывается рабочим колесом в центре и выбрасывается с периферии в улиткообразный корпус 2 вентилятора.

При постоянной частоте вращения (при постоянном значении развиваемой центробежной силы) работа центробежного вентилятора характеризуется следую­щими величинами:

5) объемным расходом перемещаемого газа Q, м /с;

6) создаваемой разностью давлений после вентилятора и до него *Лр, Па;

7) затрачиваемой мощностью N, Вт;

8) коэффициентом полезного действия г\, представляющим собой отношение
мощности QAp, требуемой теоретически для сжатия газа **, к мощности N,
затрачиваемой в действительности:

У центробежных вентиляторов Q, Др и N связаны между собой, и изменение одной из этих величин вызывает изменение остальных.


Графические зависимости Ар = f j (Q), N - f2 (Q), r\ = f3 (Q) называют характеристиками вентилятора.

На основании теоретических расчетов эти характеристики с достаточной точ­ностью построить нельзя. Поэтому на практике применяют характеристики вентиля торов, полученные опытным путем. Типичные характеристики центробежного вен­тилятора при постоянной частоте вращения п показаны на рис. 2. При другой часто­те вращения характеристики вентиляторов будут другими. В небольших пределах изменения п изменения Q, Ар и N определяются следующими приближенными со­отношениями, называемыми часто законами пропорциональности:



 


 



 


Рисунок 2. Характеристики центробежного вентилятора.

Характеристики вентиляторов служат для исследования их работы в различных ус­ловиях и для подбора вентиляторов при проектировании вентиляционных устано­вок.

Первая часть данной лабораторной работы заключается в экспериментальном определении трех характеристик центробежного вентилятора при n - const. Для это­го, изменяя диафрагменным затвором, установленным на выходе из нагнетательного трубопровода (рис.3), диаметр выходного отверстия и расход перемещаемого вен­тилятором воздуха, измеряют соответствующими контрольно - измерительными приборами, как об этом сказано ниже, все величины, необходимые для определения Q, Ар и N.

Разность давлений, создаваемая вентилятором (см. рис.3):

p2pi

(2)

здесь pi и р2 - статистические давления воздуха перед вентилятором и после него в местах присоединения трубок дифманометра.


ется это тем, что газу приходится преодолевать гидравлическое сопротивление тру­бопровода, на что затрачивается часть энергии (давления) газа. Гидравлическое со­противление трубопровода складывается из сопротивления трения, сопротивлений при поворотах, в вентилях, задвижках и др. Следовательно, гидравлическое сопро­тивление трубопровода (сети) зависит от его геометрических параметров; зависит оно также и от расхода проходящего по трубопроводу газа. Для случая, когда про­ходящий по трубопроводу газ - воздух, и из сети он выходит в атмосферу, эта зави­симость выражается теоретическим уравнением:

(3)

здесь Арс - гидравлическое сопротивление - потеря давления в сети, Па; а -коэффициент, характеризующий геометрические параметры сети (постоянный для данной сети).

График уравнения (3) называют характеристикой сети. На рис.4 представ­лены характеристики двух сетей, отличающихся геометрически. Применительно к нашей установке сеть а2 геометрически отличается от сети aj тем, что в сети а2 больше открыт диафрагменный затвор, поэтому при одинаковом расходе воздуха Q гидравлическое сопротивление сети а2 меньше.

Для построения характеристики сети расход воздуха уже нельзя изменять диафрагменным затвором, так как при этом сеть геометрически изменяется, и при­ходится делать это другим путем - изменением частоты вращения вентилятора.

Из рис.3 видно, что полное гидравлическое сопротивление сети Арс, склады­вающееся из сопротивлений всасывающего (АВ) и нагнетательного (СД) трубопро­водов, равно:

здесь ро - атмосферное давление. Сопоставив уравнения (2) и (4), видим, что

(5)

т.е. вентилятор всегда создает такую разность давлений, которая равняется гидрав­лическому сопротивлению сети, другими словами, он сообщает воздуху такое коли­чество энергии, которое необходимо для преодоления этого сопротивления.

Совмещая характеристики вентилятора и сети, т.е. графики рис.2 и 4, получа­ют график работы центробежного вентилятора на сеть (рис.5). Точку пересече­ния линий Q - Ар и Q - Арс на этом графике, в котором Ар = Арс, называют рабочей точкой. Положение рабочей точки определяет все величины, характеризующие ра­боту вентилятора при той же частоте вращения могут сильно отличаться - см. ра­бочие точки А и В.


Вторую часть работы составляет посторонние характеристики сети и графика работы вентилятора на сеть.

Сетью называют тот трубопровод или канал, на который работает вентилятор. В данной установке сеть состоит из всасывающего и нагнетательного трубопрово­дов.

Рисунок 3. Схема измерения разности давлений, создаваемой вентилятором:

I - всасывающий трубопровод; 2- центробежный вентилятор; 3 - нагнетательный

трубопровод; 4 - диафрагменный затвор; 5 - дифманометр.

1] N Др, Дрс др.

Рисунок 4 Характеристики сетей

Рисунок 5 График работы центробежного вентилятора на сеть

Если по трубопроводу постоянного поперечного сечения проходит газ, то дав­ление его на выходе из трубопровода всегда будет меньше, чем на входе. Объясня-


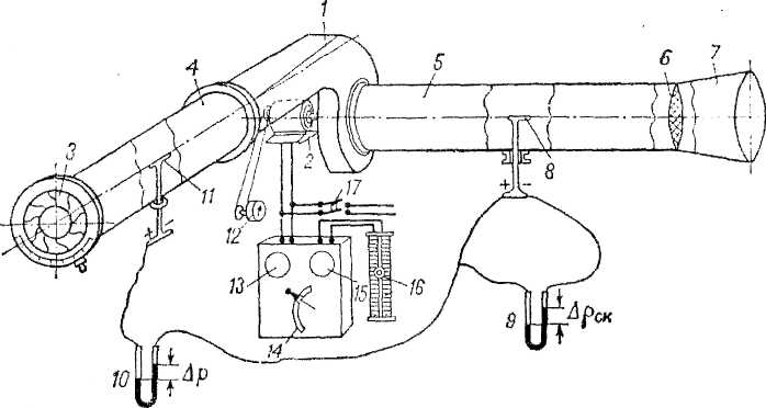
Описание установки

Установка (рис.6) состоит из центробежного вентилятора 1, смонтированного на одном валу с электродвигателем 2 постоянного тока. Последний дает возмож­ность легко изменять частоту вращения вентилятора с помощью реостата.

К вентилятору присоединены нагнетательная 4 и всасывающая 5 трубы оди­накового диаметра (dBHyTp = 220 мм). На входном участке всасывающей трубы имеет­ся плавный раструб 7, за которым установлена сетка 6 для предохранения от засасы­вания в трубопровод посторонних предметов. В выходном отверстии нагнетатель­ной трубы установлен диафрагменный затвор 3, позволяющий плавно изменять площадь выходного отверстия (и, следовательно, изменять сопротивление нагнета­тельного трубопровода).

Из всех составляющих гидравлического сопротивления сети наибольшее зна­чение имеют сопротивления сетки 6 и диафрагменного затвора 3, по сравнению с которыми остальные составляющие (трение, сопротивление на входе) очень малы.

Реостаты 14 и 16 служат для пуска и изменения частоты вращения электро­двигателя. На щите электродвигателя и на трубопроводах установлены следующие контрольно - измерительные приборы:

а) тахометр 12 для определения частоты вращения вентилятора;

б) амперметр 13 и вольтметр 15 для определения силы и напряжения постоян­
ного электрического тока;

в) трубки Пито 8 и 11, соединенные с дифференциальными манометрами 9 и
10.

Рисунок 6. Схема установки:

1 - центробежный вентилятор; 2 - электродвигатель постоянного тока; 3 - диа­фрагменный затвор; 4 - труба нагнетательная; 5 - труба всасывающая; б - сет­ка; 7 -раструб; 8, 11 - трубки Пито и дифманометры; 12 — тахометр; 13 - ам­перметр; 14, 16-реостаты; 15 - вольтметр; 17 - рубильник.


Методика проведения работы

Для получения характеристик вентилятора Q-Ap, Q-N и Q - г| проводят первую серию опытов (10 наблюдений) при постоянной частоте вращения п, кото­рую задает преподаватель (не более 1200 об/мин). Расход перемещаемого вентиля­тором воздуха изменяют диафрагменным затвором 3, меняя его открытие.

Для получения характеристики сети Q - Арс проводят вторую серию опытов (5 наблюдений), при которой открытие затвора 3, т.е. геометрическая характеристи­ка сети, остается постоянным (его задает преподаватель), а расход воздуха меняют путем изменения частоты вращения вентилятора.

Необходимые для построения характеристик вентилятора и сети значения Q, Ар, N, Т| определяют путем соответствующей обработки показаний контрольно -измерительных приборов, полученных во время испытания. Показания дифмано-метра 9, дифманометра 10, амперметра 13 и вольтметра 75 снимают одновременно по команде «отсчет». Эту команду подает студент, регулирующий частоту вращени вентилятора, после того как диафрагменный затвор 3 переставлен в новое положе­ние и восстановлена реостатами заданная частота вращения (1 серия опытов) или после того как установлена новая частота вращения (2 серия опытов).

После ознакомления с описанием работы и с установкой в натуре проверяют правильность положения трубок Пито в трубопроводах, нулевые положения жидко­сти в дифференциальных манометрах и с разрешения преподавателя пускают вента лятор - включают рубильник и плавно выводят сначала пусковой реостат 14, а. зате? регулировочный 16. Остановку вентилятора после окончания работы производят в обратном порядке.

Обработка опытных данных и составление отчета

Полученные данные обрабатывают в следующей последовательности.

1. Ар = р2 - pi - разность давления, создаваемую вентилятором, определяют
(мм вод. ст) непосредственным замером по дифференциальному маномет­
ру 10.

Как видно из рис. 6, дифманометр 10 присоединен к трубкам Пито так, что он показывает разность между общим (статическое + динамическое) давлением в на­гнетательном трубопроводе и общим давлением во всасывающем трубопроводе. Эт(показание дифманометра равно разности статистических давлений воздуха после и до вентилятора, так как динамические давления во всасывающем и нагнетательном трубопроводах одинаковы, потому что одинаковы диаметры обоих трубопроводов.

2. N - мощность, потребляемую вентиляционной установкой, рассчитывают
по формуле:

N = UI (6)

Здесь U— напряжение постоянного тока, В; /-силатока, А.


3. Q - расход перемещаемого вентилятором воздуха рассчитывают по урав­
нению расхода для потока воздуха в трубопроводе:

Q = wf. (7)

Здесь w - средняя скорость воздуха в трубопроводе, м/с, f = 0, 785d - площадь по­перечного сечения трубопровода, м2, d - внутренний диаметр трубопровода, м)

Среднюю скорость воздуха w находят следующим образом.

Дифференциальный манометр 9 (см. рис. 6), присоединенный к трубке Пито 8, которая установлена по оси всасывающего трубопровода, показывает (мм вод. ст.) скоростное (динамическое) давление Арск - кинетическую энергию единицы объема воздуха в центре этого трубопровода:

(8)

здесь wMaKC - скорость элементарной струйки воздуха, проходящей в центре трубопровода - осевая или максимальная скорость, м/с; р - плотность воздуха, кг/м3.

При развитом турбулентном режиме течения в трубопроводе, когда значение критерия Re > 10000, можно принять:

(9) из уравнений (7) - (9) получаем:

(Ю) Значение плотности воздуха р берут из таблицы.

4. л - КПД вентилятора (с электродвигателем) вычисляют по уравнению (1)
С целью проверки режима течения воздуха в трубопроводе вычисляют значе­
ние критерия Рейнольдса для того опыта, в котором расход воздуха наимень­
ший: Re = wdp/u, Вязкость воздуха ц (Па • с) берут из таблицы.

Отчет о выполненной работе должен включать:

а) задание;

б) схему установки со спецификацией;

в) отчетные таблицы;

г) расчет значений Q, N, л (табл. 1) для какого-либо одного опыта; расчет критерия
Re для наименьшего расхода воздуха;

д) график работы вентилятора на сеть и определение параметров рабочей точки.


Таблица 1 Характеристика вентилятора при постоянной частоте вращения (п =...об/мин)

 

 

 

 

 

 

№ опыта Определение диафрагменного затвора, мм Измеренные величины Рассчитанные величины
Ар Арск 1, А и, в 9' м3 N, Вт Т1, %
мм вод. ст. Па мм вод. ст. Па
                     
                     

Таблица 2 Характеристика сети при постоянном открытии диафрагменного затвора

 

 

 

 

№ опыта п, об/мин Арс Арск Q, mj/c
мм вод. ст. Па мм вод. ст. Па
             

Контрольные вопросы

9. Как устроен и работает центробежный вентилятор?

10. Разность каких давлений показывает дифманометр, присоединенный к плюсу и
минусу трубки Пито, установленной во всасывающем трубопроводе вентилято­
ра?

11. Почему при определении характеристик вентилятора можно изменять расход
воздуха диафрагменным затвором, а при определении характеристики сети -
нельзя?

12. Какой физический смысл имеют характеристики сети и рабочая точка?

13. В чем преимущество дифманометра с наклонной шкалой по сравнению с обыч­
ным U - образным дифманометром?

14. Чем общее давление отличается от статического?

15. Какие конструкции вентиляторов применяются в промышленной практике?

16. Какое давление (пределы изменения) создают вентиляторы различных групп
(центробежные и осевые; низкого, среднего и высокого давления)?

Дополнительная литература

Черкасский В.М. Насосы, вентиляторы, компрессоры. М.: Энергия, 1977. 424 с

 

Указания по проведению лабораторных работ.

 

Прежде чем приступить к пуску учебной установки, необходимо изучить содержание работы. Для этого студентам следует ознакомиться с оборудованием, относящимся к данной работе, схемой установки и изучить инструкцию. Ответив на контрольные вопросы (включая вопросы по технике безопасности) и получив разрешение преподавателя, студенты приводят установку в действие и приступают к необходимым замерам и записям показаний контрольно-измерительных приборов в соответствии с полученным заданием.

Без разрешения преподавателя студентам категорически запрещается пускать установки и включать приборы.


Поделиться с друзьями:

mylektsii.su - Мои Лекции - 2015-2026 год. (4.359 сек.)Все материалы представленные на сайте исключительно с целью ознакомления читателями и не преследуют коммерческих целей или нарушение авторских прав Пожаловаться на материал