Студопедия

Главная страница Случайная страница

КАТЕГОРИИ:

АвтомобилиАстрономияБиологияГеографияДом и садДругие языкиДругоеИнформатикаИсторияКультураЛитератураЛогикаМатематикаМедицинаМеталлургияМеханикаОбразованиеОхрана трудаПедагогикаПолитикаПравоПсихологияРелигияРиторикаСоциологияСпортСтроительствоТехнологияТуризмФизикаФилософияФинансыХимияЧерчениеЭкологияЭкономикаЭлектроника






Назначение и конструкция главных и добавочных полюсов тягового электродвигателя ЭД - 118 А.






Главнее полюсы тягового электродвигателя состоят из сердеч­ника 22 и катушки 23 (рис 1). Сердечник набран из пластин малоуглеро­дистой стали толщиной 2 мм и стянут четырьмя заклепками 27. Крайние листы сердечника имеют большую толщину. В середине каждого листа сердечника выштамповано отверстие, куда запрес­совывается стальной стержень, в который вворачиваются три болта, крепящих полюс к остову тягового электродвигателя. Головки болтов заливаются компаундом от проникновения влаги внутрь тягового электродвигателя.

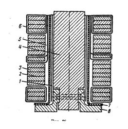
Катушка главного полюса (рис 2) намотана из шинной меди на широкое ребро (плашмя) в два слоя. Витки катушки глав­ных полюсов изолированы друг от друга асбестовой электроизо­ляционной бумагой. Каждая катушка главного полюса состоит из двух полукатушек с числом витков 11 и 8, соединенных последо­вательно.

Две катушки главных полюсов имеют открытые, а две — перекрещенные выводы. Между катушкой и остовом тягового электро­двигателя устанавливается стальная прокладка толщиной 1 мм для предохранения изоляции катушки от грубо обработанной по­верхности остова.

Между катушкой и башмаком полюса установ­лена двухслойная пружинная рамка, создающая после затяжки болтов крепления полюса давление на катушки и весь полюс. Это предотвращает перемещение катушки на сердечнике полюса при уменьшении высоты катушки, усыхании изоляции и отворачивании болтов крепления полюса.

Добавочные полюсы предназначены для улучшения коммутации тягового электродвигателя. Они состоят из сердечника и катушки (рис. 3). Сердечник добавочного полюса цельный. Башмак 9 сердечника 4 уже, чем основное тело. Для удержания катушки с двух сторон башмака приклепаны немагнитные полюсные наконечники из латуни или дюралюминия. Для надежности крепления наконечни­ки опираются на выступ сердечника. С целью предотвращения пере­мещения катушки вдоль сердечника и отворачивания болтов креп­ления полюса между катушкой и остовом тягового электродвигателя устанавливается пружинная рамка. Между сердечником и остовом поставлены дюралюминиевые немагнитные прокладки, увеличивающие воздушный зазор в магнитной цепи. Катушка до­бавочного полюса выполнена из шинной меди, намотанной на узкое ребро. Между витками катушки установлены прокладки из асбестовой электроизоляционной бумаги. Наружная поверхность средних витков, кроме трех-четырех крайних, не изолируется, а от корпуса они изолируются пятью прокладками из асбестовой элек­троизоляционной бумаги. Это сделано для охлаждения добавочно­го полюса. Крайние с каждой стороны три-четыре витка изолиру­ются в три слоя лентой ЛС и в один слой стеклолентой. Катушка добавочного полюса надевается на каркас 7. Для изоляции катушки ее вместе с каркасом пропитывают в компаунде, а затем покры­вают эмалью.

Катушки до­бавочных полюсов соединены гибкими проводами, а главных — шинами из медной ленты, изолированными асбестовой, резиновой и стеклянной лентами.

Рис. 2. Главный полюс тягового электродвигателя ЭД-118А: а — катушка; б — пружинная рамка; 1 — выводы; 3 — медь; 3 — межвитковая изоляция; 4 — изоляция от корпуса; 5 — прокладка; 6 —замазка; 7 —рамка; 8 — пластинчатая пружи­на; 9 — пластина.    

 

Рис. 3. Добавочный полюс тягового электродвигателя ЭД-118А: 1 — прокладка; 2 — межвитковая изоляция; 3 — медь; 4 — сердечник; 5 — замазка П11; 6 — корпусная изоляция; 7 — каркас катушки: 8 —наконечник сердечника.  

Поделиться с друзьями:

mylektsii.su - Мои Лекции - 2015-2026 год. (1.211 сек.)Все материалы представленные на сайте исключительно с целью ознакомления читателями и не преследуют коммерческих целей или нарушение авторских прав Пожаловаться на материал