Студопедия

Главная страница Случайная страница

КАТЕГОРИИ:

АвтомобилиАстрономияБиологияГеографияДом и садДругие языкиДругоеИнформатикаИсторияКультураЛитератураЛогикаМатематикаМедицинаМеталлургияМеханикаОбразованиеОхрана трудаПедагогикаПолитикаПравоПсихологияРелигияРиторикаСоциологияСпортСтроительствоТехнологияТуризмФизикаФилософияФинансыХимияЧерчениеЭкологияЭкономикаЭлектроника






Технічне обслуговування






Рама і підвіска автомобіля КамАЗ

Вступ

Перевезення автомобільним транспортом припускають використання рухомого складу (автомобілів і автопоїздів), що знаходиться в справному технічному стані.

Справний технічний стан означає повна відповідність рухомого складу нормам, обумовленим правилами технічної експлуатації, і характеризує його працездатність.

Працездатність автомобіля оцінюється сукупністю експлуатаційно-технічних якостей - динамічністю, стійкістю, економічністю, надійністю, довговічністю, керованістю і т.д. - які для кожного автомобіля виражаються конкретними показниками. Щоб работоспобность автомобіля в процесі експлуатації знаходилася на необхідному рівні, значення цих показників тривалий час повинні мало змінитися в порівнянні з їхніми первісними величинами.

Однак технічний стан автомобіля, як і всякої іншої машини, у процесі тривалої експлуатації не залишається незмінними. Воно погіршується в наслідку зношування деталей і механізмів, поломок і інших несправностей, що приводить результаті до погіршення експлуатаційно-технічних якостей автомобіля.

Зміна зазначених якостей автомобіля в міру збільшення пробігу може відбуватися також у результаті недотримання правил технічної експлуатації або технічного обслуговування автомобіля.

Основним засобом зменшення інтенсивності зношування деталей і механізмів і запобігання несправностей автомобіля, тобто підтримання його в належному технічному стані, є своєчасне і високоякісне виконання технічного обслуговування.

Під технічним обслуговуванням розуміють сукупність операцій (прибирально-мийні, кріпильні, регулювальні, мастильні та ін), мета яких - попередити виникнення несправностей (підвищити надійність) і зменшити зношування деталей (підвищити довговічність), а послідовно, тривалий час підтримувати автомобіль у стані постійної технічної справності і готовності до роботи.

Навіть при дотриманні всіх заходів зношування деталей автомобіля може привести до несправностей і до необхідності відновлення його працездатності або ремонту. Отже, під ремонтом розуміється сукупність технічних впливів, спрямованих на відновлення технічного стану автомобіля (його агрегатів і механізмів), що втратив обслуговування і ремонту автомобілів.

Основний документ відповідно до якого робиться ТО і ремонт на автопідприємствах положення про ТО і ремонт автомобільного транспорту.

Згідно цього документа, ТО робиться планово-попереджувально, через визначений пробіг. Існують наступні види ТО і ремонту: ЩО - щоденне обслуговування, спрямовано в першу чергу на перевірку вузлів безпеки перед виїздом і по поверненню.

ТО-1 - перше технічне обслуговування, проводиться через 3-5 тис. км. ТО-2 - друге ТО, проводиться через 10-15 тис. км. СО - сезонне обслуговування, проводиться навесні і восени. ПР - поточний ремонт, ремонт спрямований на відновлення технічно несправного стану, крім базових деталей.

Одним з напрямків, що дозволяють підвищити технічний стан парку автомобілів при мінімальних витратах на будівництво виробничої бази для ТО і поточного ремонту, є будівництво й організація баз централізованого обслуговування і ремонту автомобілів. База централізованого обслуговування забезпечує ТО і ПР кілька автогосподарств, що не мають власної виробничої бази. Така форма організації дозволяє сконцентрувати кошти механізації виробничих процесів, підвищити продуктивність праці і якостей робіт.

1. Пристрій підвіски автомобіля КамАЗ

Підвіска автомобіля сприймає основні динамічні навантаження від впливу нерівностей дороги. Для забезпечення більшої плавності ходу і для гасіння коливань.

Підвіска передня автомобілів складається з двох поздовжніх напівеліптичних ресор, що працюють спільно з двома телескопічними амортизаторами і двома порожніми гумовими буферами стиснення. У середній частині ресори прикріплені двома драбинами до майданчика балки передньої осі. Між ресорами і балкою встановлені кронштейни амортизаторів (рис. 1).

Рисунок 1 - Основні деталі передньої підвіски

Передні кінці ресор з допомогою відокремлених ушков і пальців прикріплені до кронштейнів. Втулки відокремлених ушков виготовлені з антифрикційного ковкого чавуну, що підвищує зносостійкість сполук з пальцями ресор. Задні кінці передніх ресор ковзаючі і спираються на змінні захисні сухарі і бічні вкладиші.

Корінний лист ресори прямокутного перерізу, а інші листи Т-подібного перетину. Всього 15 аркушів. На ковзному кінці корінного листа заклепками закріплена накладка, що оберігає його від зносу. Пальці ресор змащуються через маслянку.

Амортизатори передньої підвіски з'єднані з рамою автомобіля і передній віссю за допомогою пальців і гумових втулок. Втулки компенсують перекоси і пом'якшують ударні навантаження, що передаються від осі автомобіля на раму. З обох торців гумових втулок встановлені шайби.

При русі автомобіля по дорозі з невеликими перешкодами амплітуда коливань підвіски незначна і опір, що створюється амортизаторами, невелика. На нерівній дорозі амплітуда коливань підвіски зростає, при цьому амортизатор чинить великий опір, запобігаючи розгойдування автомобіля і поглинаючи енергію як при плавному, так і при різкому стисканні і віддачі ресор.

Для обмеження ходу передньої підвіски служать гумові порожнисті буфери, закріплені на лонжеронах рами.

Підвіска передня автомобілів КамАЗ-53212, КамАЗ-65115, КамАЗ-53228, КамАЗ-53229 і Ка-МАЗ-54112 має стабілізатор поперечної стійкості, який збільшує кутову жорсткість підвіски, зменшуючи кут крену підресорною частини автомобіля при дії на автомобіль поперечної (бічний) сили, підвищує стійкість руху автомобіля.

Штанга стабілізатора в середній частині закріплена на балці передньої осі в гумових подушках за допомогою обойм, накладок і драбин. Штанга стабілізатора стійками шарнірно з'єднана з кронштейнами, встановленими на лівому і правому лонжеронах рами. З'єднання стійок з кронштейнами рами аналогічно кріпленню амортизатора.

Амортизатор верхній пружиною прикріплений до кронштейна на рамі, а нижній - до нижнього кронштейна амортизатора. Принцип дії гідравлічних амортизаторів полягає в наступному. При відносних переміщеннях підресорне і неподрессорних частин автомобіля наявна в амортизаторі рідина, перетікаючи з однієї його порожнини в іншу через невеликі отвори, чинить опір вертикального переміщення штока і гасить коливання ресор.

Задня підвіска - балансуюча, на двох напівеліптичних ресорах, з реактивними штангами з резинометалічними шарнірами. Кінці ресора ковзаючі по опорах, привареним до балок мостів. Вісь балансира виконана цільною, без стяжки. Пальці реактивної штанги азотований, опори ресор посилені. Ресори в середній частині прикріплені драбинами до башмаку ресори. Кінці ресор встановлені в опорах. При прогині ресор кінці їх ковзають в опорах. При ході мостів вниз ресори утримуються в опорах пальцями, зафіксованими від осьових переміщень шплинтами та шайбами. Для обмеження ходу мостів вгору і пом'якшення їх ударів об раму на лонжеронах встановлені буфери 1.

Штовхає зусилля і реактивні моменти передаються на раму шістьма реактивними штангами 4. Шарніри реактивних штанг самоподвіжние.

Балансуючий пристрій автомобілів КамАЗ-5320, КамАЗ-55102 і КамАЗ-5410 складається з двох осей, запресованих в кронштейни, і черевиків з запресованими в них втулками з антифрикційного матеріалу. Кронштейни балансірного устройства соедінени стяжкой і закреплени шпількамі на кронштейнах задней подвескі, которие в свою очередь крепятся болтамі к лонжеронам рами. У кришці є отвір з пробкою для заливання масла.

Для запобігання витікання мастила в черевиках встановлені гумові армовані манжети, а для захисту ущільнень від бруду - ущільнювальні кільця. Башмаки закріплені на осях розрізними гайками, стягнутими болтами.

При прогині ресор їх кінці ковзають в опорах і утримуються в опорах пальцями, зафіксованими від осьових переміщень шплинтами та шайбами. Встановлені на лонжеронах буфери служать для обмеження ходу мостів вгору і пом'якшення їх ударів об раму. Штовхає зусилля і реактивні моменти передаються на раму шістьма реактивними штангами 4, забезпеченими самоподжимной шарнірами (рис. 2).

Дві осі балансирного пристрої запресовані в кронштейни, які з'єднані стяжкою і закріплені шпильками на кронштейнах задньої підвіски, прикріплених болтами до лонжеронів рами. У черевики балансирного пристрої запресовані втулки з антифрикційного матеріалу. Башмаки закріплені на осях розрізними гайками, які стягнуті болтами. Для заливання масла служить отвір з пробкою в кришці, для запобігання його витікання встановлені в черевиках гумові армовані манжети, а для захисту ущільнень від забруднень - ущільнювальні кільця.

Рисунок 2 - Задня підвіска автомобілів КамАЗ-53212, -54112 і -5511: 1 - вісь; 2 - кронштейн осі балансира; 3 - ущільнювач ніс кільце черевика ресори; 4 - манжета, 5 - реактивна штанга, 6 - втулка розпору; 7 - заклепка; 8 - обмежувач хитання мостів; 9 - нижній реактивний важіль; 10 - пружинна шайба; 11 - гайка; 12 - пробка, 13 - кришка черевика; 14 - прокладка кришки; 15 - гайка кріплення черевика; 16 - втулка черевика; 17 - болт; 18 - черевик ресори; 19 - драбина ресори; 20 - лист № 4; 21 - лист № 1; 22 - передня опора ресори. Задня підвіска автомобілів КамАЗ-53212, -54112 і -5511 відрізняється тим, що має балансирні пристрій з однією віссю 7, запресованої в кронштейн 2 балансира. Опори 22 ресори і нижні реактивні важелі 9 фіксуються на мостах установочними пластинами і закріплюються шпильками (рис. 3).

 

Малюнок 3 - Реактивна штанга: 1 - маслянка; 2 - гайка; 3-шайба пружинна; 4 - сальник; 5 - штанга, 6 - заклепка; 7 - вкладиш внутрішній; 8 - палець; 9 - вкладиш зовнішній; 10 - пружина, 11 - прокладка; 12 - кришка

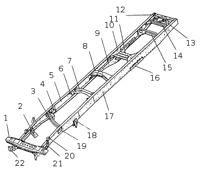
Рама автомобіля КамАЗ (рис. 4).

Малюнок 4 - Рама автомобіля КамАЗ. Рама автомобіля: 1 - поперечина № 1; 2 - кронштейн передньої опори силового агрегату; 3-поперечина № 2, 4 - кронштейн задньої опори двигуна; 5 - лонжерон правий; 6 - кронштейн балки підтримуючої опори силового агрегату; 7 - поперечина № 3; 8 - поперечина № 4; 9 - косинка нижня поперечки № 5; 10 - косинка верхня поперечки № 5; 11-поперечина № 5; 12 - поперечина задня, 13 - Розкіс задній поперечки; 14 - поперечина № 7; 15 - поперечина № 6; 16 - прокладка кронштейна балансирной підвіски, 17 - лонжерон лівий; 18 - задній кронштейн передньої підвіски; 19 - кронштейн амортизатора; 20 - кронштейн опори радіатора; 21-кронштейн передній передньої підвіски, 22 - кронштейн буфера

Опори ресори і нижні реактивні важелі для полегшення ремонту виконані знімними. Опори зафіксовані від переміщення установочними пластинами. Для обмеження ходу мостів вниз на опорах ресор встановлені обмежувачі хитання мостів.

Автомобілі КамАЗ різних моделей і комплектацій мають рами розрізняються: довжиною в залежності від бази; кількістю і конструкцією поперечок; підсилювальними накладками та їх конструкцією; кронштейнами і їх становищем.

Технічне обслуговування

Планово-попереджувальна система технічного обслуговування автомобілів побудована так, що при виконанні кожного наступного виду технічного обслуговування повторюють більшість операцій попередніх обслуговувань.

Для чіткого виконання всі операції технічних обслуговувань розподіляють за видами робіт: збирально-мийні, оглядові, кріпильні, контрольні, регулювальні, заправочно-мастильні, шиномонтажні.

Операції технічного обслуговування пов'язані з ходовою частиною здійснюються тільки при ЩО, ТО - 1 і ТО - 2.


Поделиться с друзьями:

mylektsii.su - Мои Лекции - 2015-2026 год. (1.059 сек.)Все материалы представленные на сайте исключительно с целью ознакомления читателями и не преследуют коммерческих целей или нарушение авторских прав Пожаловаться на материал