Студопедия

Главная страница Случайная страница

КАТЕГОРИИ:

АвтомобилиАстрономияБиологияГеографияДом и садДругие языкиДругоеИнформатикаИсторияКультураЛитератураЛогикаМатематикаМедицинаМеталлургияМеханикаОбразованиеОхрана трудаПедагогикаПолитикаПравоПсихологияРелигияРиторикаСоциологияСпортСтроительствоТехнологияТуризмФизикаФилософияФинансыХимияЧерчениеЭкологияЭкономикаЭлектроника






Номинальный Допустимый. Стакан подшипника Диаметр отверстия под






Стакан подшипника Диаметр отверстия под

подшипники......................... 79, 990—80, 020 80, 020

Посадочный ä è à ì å ò ð............... 95, 930—96, 000 95, 930

Вторичный вал Диаметр шейки под

подшипники......................... 35, 003—35, 020 35, 000

Размер по роликам переднего

венца шлицев при ролике

диаметром 6, 212 mm............ 57, 192—57, 433 57.000

Муфта включения

Размер по роликам шлицев

при ролике диаметром 4, 4

mm......................................... 41, 169-41, 302 41, 400

Внутренний диаметр канавки 67, 600—67, 800 67, 500

Ширина ê à í à â ê è................... 11, 000-11, 240 11, 500

Вилка включения

Диаметр отверстия головки

вилки ï î ä ø ò î ê.................... 9, 040—19, 080 19, 080

Толщина лапок вилки

включения............................. 0, 640—10, 760 10, 500

Расстояние между лапками.. 8, 000—68, 020 68, 050

Камера включения коробки

отбора мощности

Диаметр ø ò î ê à...................... 8, 967—19, 000 18, 950

Диаметр отверстия корпуса

под ø ò î ê............................... 9, 060—19, 080 19, 100

Привод механизма блокиров­
ки дифференциала.................. пневматический с дистанцион­
ным управлением с помощью
крана, установленного в
кабине
Отбор ì î ù í î ñ ò è...................... ä î 44, 12 kW (60 ë. ñ.) î ò

первичного вала раздаточ­ной коробки. Возможен отбор мощности на ходу



Автомобили КамАЗ


 



Ч2~

«/-

 

ИВ-33-

Да

32

37-36



°й ' г- Г г-

23 28 272В 25» iij 22 21 20 IS IS


Рис. 155. Раздаточная коробка: 1 — фланец первичного â à ë à: 2 — ï å ð â è ÷ í û é â à ë; 3, 4, 8, 13. 16, 17, 29, 40 — подшипники; 5 — ведущее зубчатое колесо; 6 — крышка верхнего люка; 7 — зубчатое колесо отбора мощности; 9

— муфта включения коробки отбора мощности; 10 —
коробка отбора мощности; 11 — маслосборник; 12 —
зубчатое колесо низшей перс-дачи; 14 — крышка под­
шипника; 15 — сателлит; 18 - вал привода задних
мостов; 19 — задняя обойма дифференциала; 20 —
коренное зубчатое колесо; 21 — зубчатое колесо низшей
передачи дифференциала; 22 - солнечное зубчатое коле­
со; 23 — передняя обойма; 24— картер раздаточной
коробки; 25 — зубчатое колесо высшей передачи: 20 —
крышка картера раздаточной коробки; 27 — магнитная
пробка; 28, 30. 41 — муфты; 31 — ведущее зубчатое
колесо привода преобразователя электрического спидо­
метра: 32 — вал привода переднего моста; 33 — вилка; 34

— пружина: 35 — шток; 36 — мембрана: 37 — выключа­
тель; 38 — стопорный болт; 39 — промежуточный вал; 42

— зубчатое колесо постоянного зацепления


 


Картер раздаточной коробки литой, с вертикаль­ным разъемом. В верхней части картера имеется люк, закрытый крышкой 6, для установки коробки отбора мощности. В гнездо заднего торца картера уста­новлена односкоростная коробка 10 отбора мощнос­ти, которая состоит из выходного вала, установлен­ного в корпусе стакана подшипников на двух шари­ковых подшипниках. На шлицах выходного вала закреплен фланец с отражателем для присоединения карданного вала привода лебедки. По шлицам пере­днего конца выходного вала перемещается подвиж­ная муфта включения отбора мощности, входящая в зацепление со шлицами первичного вала раздаточной коробки. Стакан подшипников закрыт крышкой, уплотненной прокладкой. Для предотвращения вы­текания масла в крышке стакана установлена резино­вая манжета с пружиной. Коробка отбора мощности включается пневматическим механизмом мембран­ного типа с дистанционным управлением.

Редуктор раздаточной коробки состоит из пер­вичного вала 2, промежуточного вала 39, вала 32 привода переднего моста, межосевого дифференци­ала. Все зубчатые колеса редуктора постоянного зацепления, косозубые.

Первичный и промежуточный валы вращаются на цилиндрических радиальных подшипниках 4, 8, 13 и 40, дифференциал — на радиальном цилиндричес­ком 16 и шариковом 29 подшипниках. Шариковый подшипник 3 первичного вала воспринимает только осевые нагрузки и установлен в крышке первичного вала с радиальным зазором.

К ведущему зубчатому колесу 5 первичного вала приварено зубчатое колесо 7 отбора мощности.

Зубчатое колесо 12 низшей передачи и зубчатое колесо 25 высшей передачи установлены на роликах.

Дифференциал планетарного типа с четырьмя сателлитами 75, солнечным 22 и коренным 20 зубча­тыми колесами, коренное зубчатое колесо 20 соеди­нено с валом 18 привода задних мостов. Момент вращения солнечного зубчатого колеса передается


на вал 32 привода переднего моста. При работающем (разблокированном) дифференциале обеспечивает­ся постоянная и равномерная тяга всех мостов и устраняются дополнительные нагрузки в трансмис­сии. В зависимости от дорожных условий дифферен­циал может быть выключен (заблокирован), и тогда валы привода переднего и задних мостов вращаются как одно целое.

На модернизированных полноприводных автомо­билях в конструкцию раздаточной коробки внесены изменения (см. рис. 156):

— вместо шпоночного соединения первичного
вала и шестерни применено шлицевое (зона 1).
Новый â à ë ï å ð â è ÷ í û é - 43114-1802025;

— усилены подшипники вала промежуточного
(зона 2). Новые подшипники — 73 ПА;

— вместо болтов самоконтрящихся применены
шпильки с футерками (зона 3);


КОРОБКА РАЗДАТОЧНАЯ

Рис. 156. Раздаточная коробка модернизированных пол­ноприводных автомобилей

— объединены 2 крышки заднего подшипника в
единую крышку (зона 4).


Раздел II. Сборочные единицы и системы силового агрегата 101



V////A

11

12 13 П

 


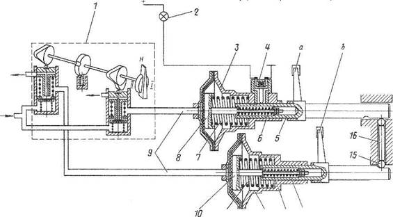
Рис. 157. Схема пневмосистемы управления раздаточной коробкой: 1 — кран переключения передач; 2 — сигнализатор включения низшей передачи; 3, 12 — механизмы переключения передач: 4 — выключатель сигнализатора включения низшей передачи; 5, 14 — штоки; 6, 13 — нажимные пружины; 7, 11 - возвратные пружины; 8, 10 — стаканы; 9 — пневмопроводы; 75 — шарик; 16 — штифт; а —к муфте 41 (см. рис. 155), b — к муфте 28 (см. рис. 155)


Переключение передач в раздаточной коробке осуществляется пневматической системой, состоя­щей из трехпозиционного кулачкового крана 7 (рис. 157), установленного в кабине, рукоятка управления которого расположена на панели приборов, двух механизмов 3 и 12 переключения передач мембран­ного типа, выключателя 4 сигнализатора 2 включе­ния низшей передачи, установленного на корпусе механизма 3, пневмопроводов 16.

При установке рукоятки крана 1 в положение I включена низшая передача. В этом случае сжатый воздух в механизмы переключения не поступает, срабатывает выключатель 4 и загорается сигнализа­тор 2 включения низшей передачи. Положение муфт переключения передач соответствует рис. 155.

При установке рукоятки крана 1 (см. рис. 157) в положение Н включена нейтральная передача. Воз­дух из пневмосистемы подводится к механизму 3 переключения, мембрана которого перемещает шток 5 через нажимную пружину 6 до упора стакана 8 в выступы корпуса механизма, и муфта 41 (см. рис. 155) перемещается вправо.

При установке рукоятки крана 1 (см. рис. 157) в положение II включена высшая передача. Воздух из пневмосистемы подводится к механизмам 3 и 12 переключения передач, мембраны которых пере­мещают штоки 5 и 14 через нажимные пружины 6 и 13 до упора стаканов 8 и 10 в выступы корпусов механизмов.

При этом муфты 41 и 28 (см. рис. 155) перемеща­ются вправо поочередно посредством механизма блокировки штоков, состоящего из шариков 75 (см. рис. 157), штифта 16 и предназначенного для пре­дотвращения одновременного включения двух пере­дач в раздаточной коробке.

При возврате рукоятки крана 7 в положение / пружины 77 и 7 в обратном порядке через нажимные пружины 13 и 6 возвращают штоки 14 и 5 механиз­мов до упора стаканов К) и 8 в крышки.

При этом воздух из механизмов переключения


выходит в окружающую среду через дренажные от­верстия крана.

Включение блокировки межосевого дифферен­циала осуществляется также мембранной пневмока-мерой, которая отличается от камеры переключения передач отсутствием нажимной пружины.

Механизм блокировки дифференциала включает­ся пневматическим краном, ручка управления кото­рым установлена в кабине под панелью приборов.

раздаточной коробки — разбрызгиванием. Для подачи смазочного материала в подшипники зубча­тых колес низшей передачи промежуточного вала в картере раздаточной коробки имеется маслосборник 77 (см. рис. 155), соединенный через отверстия в картере, крышке 14 подшипника, валу 39 с подшип­никовой зоной.


Поделиться с друзьями:

mylektsii.su - Мои Лекции - 2015-2026 год. (0.766 сек.)Все материалы представленные на сайте исключительно с целью ознакомления читателями и не преследуют коммерческих целей или нарушение авторских прав Пожаловаться на материал