Студопедия

Главная страница Случайная страница

КАТЕГОРИИ:

АвтомобилиАстрономияБиологияГеографияДом и садДругие языкиДругоеИнформатикаИсторияКультураЛитератураЛогикаМатематикаМедицинаМеталлургияМеханикаОбразованиеОхрана трудаПедагогикаПолитикаПравоПсихологияРелигияРиторикаСоциологияСпортСтроительствоТехнологияТуризмФизикаФилософияФинансыХимияЧерчениеЭкологияЭкономикаЭлектроника






Выдержка коньячных спиртов






Выдержку коньячных спиртов проводят в дубовых бочках и металлических эмалированных резервуарах, загруженных дубо­выми клепками. В ходе выдержки^происходит созревание конь­ячного спирта в результате протекания сложных физических и химических процессов, в которых наряду с составными веще­ствами спирта активно участвует древесина дуба.

Из физических процессов, проходящих при выдержке конь­ячных спиртов, наибольшее значение имеют процессы экстрак­ции, «поглощения, испарения.

Контакт спирта с древесиной дуба в процессе выдержки приводит к экстрагированию из нее фенольных соедине­ний (лигнина, танинов, флавоноидов, фенолкарбоновых кислот), углеводов (ксилана, арабана, глюкана, метилпентозанов), азо­тистых веществ (белковых соединений, аминокислот), липидов, минеральных веществ (калия, натрия). Экстрагирование проис­ходит из слоя клепок толщиной до 1 мм. Смачивание клепок спиртом проходит на большую глубину — 8—12 мм, в более глу­бокие слои он диффундирует в парообразном состоянии. Интен­сивность экстрагирования веществ из клепок коньячным спир­том усиливается при понижении его рН, а также повышении температуры выдержки. Перешедшие из клепок соединения участвуют в различных химических превращениях, в результате которых формируются цвет, вкус и аромат коньяка.

При выдержке в дубовых бочках имеют место потери конь­ячного спирта вследствие его поглощения древесиной дуба, а также испарения. Величина поглощения определяется пористостью древесины, температурой, крепостью спирта, удель­ной площадью поверхности бочек. Скорость поглощения спирта древесиной дуба прямо пропорциональна давлению и


обратно пропорциональна вязкости. Она будет большей в боч­ках, закрытых плотно шпунтами, при повышении температуры выдержки спирта, поскольку в этом случае имеет место рост давления в бочках. При выдержке старых экстрактивных спир­тов скорость поглощения их клепками уменьшается в связи с повышением их вязкости. Величина поглощения больше в боч­ках с большей удельной площадью поверхности (меньшего объема).

Спирт испаряется через поры клепок, щели в их стыках, шпунтовые отверстия. Интенсивность испарения определяется скоростью поглощения спирта древесиной дуба, температурой, влажностью воздуха, качеством бочек. Чем выше скорость по­глощения спирта клепками бочек, температура выдержки, тем интенсивнее проходит испарение.

Влияние влажности на ход испарения проявляется различно. Оно сказывается на количественных и качественных характери­стиках процесса. При 70%-ной относительной влажности воз­духа этиловый спирт и вода, содержащиеся в коньячном спирте, испаряются с равными скоростями. В этом случае происходит лишь уменьшение объема спирта без снижения его крепости. Если относительная влажность воздуха ниже 70%, то скорость испарения воды выше скорости испарения спирта, и крепость коньячного спирта будет повышаться. При относительной влаж­ности выше 70 % будет иметь место снижение крепости спирта вследствие более интенсивного его испарения.

Испарение проходит с большей скоростью при большем воз­духообмене в помещении. Так, в помещениях, имеющих одина­ковую влажность, при воздухообмене 0, 8 и 4, 2 объема в сутки потери спирта в год в пересчете на безводный спирт соответст­венно составляют 0, 9 и 2, 5%. При увеличении воздухообмена потери увеличиваются. Поэтому согласно существующему в Со­ветском Союзе законодательству выдержка коньячных спиртов должна производиться при температуре 15—20 °С и относи­тельной влажности воздуха 75—85%. Воздухообмен должен составлять не более 5 объемов в сутки.

Из химических процессов, проходящих при выдержке конь­ячных спиртов, наибольшее' значение имеют окислительно-вос­становительные, этерификация, гидролиз и конденсация, карбо-ниламинные реакции. Вследствие этих процессов крепость конь­ячного спирта также снижается.

Окислительно-восстановительные процессы идут в порах дубовых клепок, а также в коньячном спирте при наличии в нем растворенного кислорода, перекисей и тя­желых металлов. Кислород диффундирует в коньячный спирт через шпунтовые отверстия бочек, стыки и уторы. Растворив­шийся кислород частично связывается в перекиси. Его распре­деление в бочке неравномерно. Наибольшая концентрация об­наруживается в верхнем слое (11, 6—14, 3 мг/л), более низкая —


в нижних слоях (6, 4—8, 3 мг/л). Такая же зависимость наблюдается и для перекисей. Их количество увеличивается по мере выдержки коньячного спирта с 1, 4 в однолетнем спирте до 4, 1 мг/л в 19-летнем в пересчете на кислород перекисей и с 2 в двухлетнем до 20 мг/л в 26-летнем спирте в пересчете на пероксид водорода.

Наибольшее количество металлов содержится в слое клепок глубиной до 1 мм. Так, содержание меди здесь составляет 0, 17 % (в наружном—0, 002%). Ее накопление связано с адсорбцией на внутренних поверхностях бочек соединений меди при дли­тельной выдержке коньячного спирта.

Окислительно-восстановительные процессы в коньячном спирте проходят через промежуточное образование свободных радикалов. Их содержание увеличивается в старых спиртах. В клепках бочек свободные радикалы сконцентрированы в слое толщиной до 0, 1 мм, что связано с высокой зольностью этого слоя (24 %) и, главное, с высоким содержанием меди в золе (33, 2 %). Установлена также зависимость между содержанием перекисей и свободных радикалов (Л. М. Джанполадян, Ц. Л. Петросян).

Окисление с участием свободных радикалов происходит следующим об­разом. Вначале в результа'те автоокисления орга, рических соединений (RH) коньячного спирта происходит накопление перекисей и гидроперекисей:

RH-t-02-> -R- +НОО-; R- + 02^ROO-;

'-> НООН ROO- + RH-> ROOH + R- и. т. д.,

где R— радикал, возникающий из молекул органических соединений в ре­зультате отрыва атома водорода.

Накопление гидроперекисей (ROOH) сопровождается одновременно ги­белью носителей цепи R' и ROO. При достаточном количестве кислорода в спирте образуются [ROO-]> [R']. Гибель радикалов происходит согласно реакции

2ROO- > - ROOR + 02

' > - 2RO + 02.

В результате дальнейшего гомолиза гидроперекисей (ROOH) и переки­сей (ROOR) увеличивается концентрация свободных радикалов в реакци­онной зоне, что приводит к усилению окислительных реакций в целом. Гомо-лиз катализируют ионы переменной валентности (Cu2+, Fe3+). Он происхо­дит в основном гетерогенно в тонком слое на внутренней поверхности ду­бовых клепок. Воздействие на дубовые клепки кислорода воздуха, гамма- и ультрафиолетовых лучей также повышает количество свободных радикалов.

При выдержке коньячных спиртов происходит окисление спиртов и образование альдегидов. Источником альдегидов могут быть также аминокислоты, подвергающиеся окислитель­ному дезаминированию и последующему декарбоксилированию. В коньячном спирте обнаружены в свободном состоянии фор­мальдегид, ацетальдегид, фурфурол, метилфурфурол, ванилин, фенилацетальдегид, сиреневый альдегид.


Ароматические альдегиды образуются в результате окисле­ния соответствующих ароматических спиртов, возникающих при гидролизе лигнина. Образование альдегидов интенсифицируется в присутствии ортофенолов и фенолов с рядовыми гидрокси-лами в бензольном кольце. В результате окисления альдегидов в коньячном спирте накапливаются органические кислоты, на- \ пример уксусная. При окислительном дезаминировании обра­зуются кетокислоты. Следствием ОВ-процессов может быть об­разование в коньячных спиртах других продуктов. Так, при окислительном распаде лигнина могут образовываться фенол-карбоновые кислоты, декарбоксилирование которых приводит к появлению летучих фенолов. Последним отводится важная роль в формировании аромата коньячного спирта.

Активную роль в ОВ-процессах играют фенольные соедине­ния. Продукты их окисления влияют на вкус вина, участвуют в образовании окраски. При их окислении в щелочной среде образуются стойкие темно-коричневые соединения. Это их свой­ство легло в основу изготовления заменителя колера.

Образование эфиров в процессе выдержки коньячного спирта зависит от исходной концентрации в нем кислоты и спир­та, а также содержания эфиров. Так, накопление уксусной кис­лоты приводит к росту количества этилацетата. По мере нако­пления эфиров процесс этерификации затухает и может насту­пить деэтерификация, если в среде образовалось много эфиров и осталось мало кислот. Этим объясняется противоречивость мнений о направленности процесса этерификации при выдержке коньячных спиртов. В спирте может иметь место как их накоп­ление, так и деэтерификация.

Экспериментальные данные показывают, что выдержка конь­ячных спиртов мало сказывается на общем количественном со­держании эфиров. Изменения происходят в основном в их каче­ственном составе. Важную роль в формировании органолапти-ческих качеств отводят энантовому эфиру, с которым связывают специфический «мыльный» тон французских коньяков. Его со­держание в коньяках Франции составляет 50—60 мг/л, в совет­ских— в 2—3 раза меньше.

В реакции меланоидинообразования при выдер­жке коньячных спиртов участвуют аминокислоты, белковые ве­щества, перешедшие из древесины дуба, карбонильные соедине­ния, полифенолы. Результатом реакции меланоидинообразова­ния является потемнение коньячного спирта и накопление в нем альдегидов, меланоидинов, а также продуктов, обладающих восстановительными свойствами. Их количество возрастает по мере выдержки спирта.

В результате гидролиза полисахаридов, экстрагирован­ных из дубовых клепок, в коньячном спирте при выдержке на­капливаются моносахариды — ксилоза, арабиноза, глюкоза. Они умягчают вкус коньячного спирта, а продукты их дегидрата-

432 www.ovine.ru


ции — альдегиды фуранового ряда — создают специфические от­тенки во вкусе и аромате. Важная роль в создании органолеп-тических качеств коньяка принадлежит продуктам гидролиза лигнина — ароматическим спиртам конифериловому и синапо-вому. В результате их последующего окисления при выдержке коньячного спирта образуются ароматические альдегиды. Гид­ролитический распад белковых веществ, переходящих в конь­ячный спирт из дубовых клепок, приводит к образованию ами­нокислот. При последующем их гидролитическом дезаминиро­вании образуются соответствующие оксикислоты и аммиак.

Наряду с гидролитическими процессами при выдержке конь­ячных спиртов протекают процессы конденсации фе-нольных и других соединений, с участием которых формиру­ются типичные качества коньяков.

Дегидратация Сахаров и других соединений приводит к образованию фурфурола, метилфурфурола, окси-метилфурфурола. Их содержание в коньячных спиртах может составлять соответственно (в мг/л): 0, 126—0, 21; 5, 4—16; 81 — 160. В коньячном спирте найдены и другие соединения фурано-вой и пирановой природы. Так, в свежеперегнанном коньячном Спирте идентифицированы оксиметилфурфурол, 5-метил-4-окси-3 (2Н)-фуранон, З-окси-2-пиранон и 3, 5-диокси-6-метил-4-пиранон, что свидетельствует об их образовании при дистилляции. В спиртах, выдержанных в присутствии древесины дуба, най­дены такие соединения, как 2-окси-3-метил-2-циклопентен-1-ОН, 2, 5-диметил-4-окси-3(2Н)-фуранон, 2-оксиметил-5-метил-4-окси-3(2Н)-фуранон. Одним из источников этих соединений в коньячном спирте может быть аскорбиновая кислота. Ее со­держание в древесине дуба составляет 12—66 мг % на сухую массу. Ускоряют распад аскорбиновой кислоты соединения меди. Этим объясняется получение коньячных спиртов лучшего ка­чества на медных аппаратах, поскольку образующиеся про­дукты дегидратации аскорбиновой кислоты обладают прият­ным ароматом.

В коньячных спиртах образуются летучие и нелетучие аце-т а л и. Нелетучих ацеталей больше в старых спиртах.

Образование летучих фенолов происходит из фе-нолкарбоновых кислот путем их декарбоксилирования. Фенол-карбоновые кислоты экстрагируются спиртом из древесины дуба, где они находятся в свободном состоянии либо образу­ются из лигнина при его окислительном распаде.

В выдержанных коньяках обнаружены лактоны, в част­ности р-метил-у-окталактон (МО-лактон), обладающий интен­сивным запахом. Количество его цис-формы составляет от следов до 0, 48 мг/л, гранс-формы —от 0, 22 до 1, 54 мг/л. С увеличением срока выдержки количество МО-лактона воз­растает. Помимо МО-лактона в выдержанных коньячных спир­тах обнаружены у-окталактон, у-ноналактон, у- и б-декалактон


и др. Их количество с выдержкой также увеличивается. Уста­новлено, что источником образования лактонов являются не­полярные липиды древесины дуба, а также вещества, перехо­дящие в коньячный спирт из виноматериалов при их дистил­ляции. Такими веществами являются компоненты сивушных масел, подвергающиеся в коньячном спирте неферментатив-, ному окислению.

Роль летучих компонентов коньячного спирта в формирова­нии органолептических качеств коньяка. В процессе получения и последующей выдержки коньячного спирта в результате сложных физических и химических процессов образуются веще­ства различных классов соединений, каждый из которых играет определенную роль в формировании органолептических качеств (преимущественно аромата) коньяков. Так, алифатические сое­динения (сивушные масла), являющиеся продуктами броже­ния — спирты, кислоты, эфиры, карбонильные соединения, — вместе с этиловым спиртом составляют фон аромата коньячных спиртов. Исключением является энантовый эфир, придающий спиртам характерные оттенки в аромате и вкусе («мыльные» тона). В молодых коньячных спиртах 95, 5% относительных чи­сел аромата приходится на долю алифатических соединений, в том числе (в % отн.): на сивушные спирты 41, 3; алифатиче­ские летучие кислоты и их сложные эфиры 53, 3; карбонильные соединения 0, 9; другие переходящие в дистиллят соединения 4, 5. Последние представлены терпеноидами, определяющими сорто­вой аромат (0, 9% отн.), и группой веществ, аромат которых обусловлен технологией: летучими фенолами (0, 9), лактонами алифатических кислот (0, 6) и гетероциклическими соединени­ями (2, 1 % отн.). В старых коньячных спиртах доля чисел аро­мата последних трех классов веществ увеличивается соответ­ственно до 21, 3; 12, 4 и 12 % отн. при одновременном ее умень­шении до 54% отн. для сивушных масел (фон аромата).»

Техника проведения выдержки коньячных спиртов. Выдержку коньячных спиртов проводят в дубовых бочках (марочные коньяки) и стальных эмалированных резервуарах с размещен­ными внутри дубовыми клепками (ординарные коньяки), в на­земных и полуподвальных помещениях при температуре 18— 20 °С и влажности 75—85 %. Эти помещения должны удовлет­ворять необходимым санитарным нормам, не иметь посторонних запахов. Воздухообмен в них должен составлять не более 5 объемов в сутки.

Спирты закладывают на выдержку после их эгализации, химического анализа и дегустационной оценки. Ежегодно про­водят их инвентаризацию, определяют качество и состав (со­держание спирта, экстракта, а также кислотность).

Для выдержки коньячных спиртов в бочках используют бочки 1-й категории вместимостью 30—70 дал. Их устанавливают на деревянных либо железобетонных брусьях


в 3 яруса или размещают на стеллажах в 6—8 ярусов. Послед­ний способ является экономически более целесообразным, по­скольку исключает деформацию клепок и снижает плотность их прилегания в бочках, находящихся в нижних ярусах, в связи с чем уменьшаются потери. При стеллажном способе установки коэффициент использования производственных площадей выше. Перед использованием новые бочки дважды замачивают хо­лодной водой, которую сменяют через 2—3 сут. Затем их обра­батывают острым паром в течение 20—30 мин и ополаскивают горячей и холодной водой. Эта операция провидится для удале­ния из клепок части фенольных соединений, избыток которых может быть причиной появления в коньячном спирте грубого вкуса и горечи. При повторном использовании коньячных бочек такую обработку не проводят.

Коньячные спирты выдерживают в неполных бочках с не­
доливом не более 2 %• Такой способ исключает потери при ко­
лебаниях температуры и обеспечивает необходимый при созре­
вании контакт спирта с кислородом воздуха. В процессе вы­
держки коньячных спиртов внимательно следят за состоянием
бочек и проводят необходимый ремонт (устраняют течь, по­
вреждения обручей и др.). При инвентаризации бочки доливают
спиртами того же года выдержки. Если используют ступенча­
тые доливки, то долив в количестве не более 10 % может быть
проведен более молодым спиртом. При этом для спиртов, вы­
держанных менее 10 лет, различие в возрасте не должно пре­
вышать 1—2 года, для более старых—3—5 лет. _

Спирты сортируют через 2, 5—3 года при пятилетней выдер­жке и через 5 лет при десятилетней. Отобранные более качест­венные спирты эгализируют и оставляют на выдержку для ма­рочных коньяков, менее качественные объединяют в крупные партии и используют для приготовления ординарных коньяков. При выдержке коньячных спиртов наблюдаются потери. Для южных районов (Армения, Таджикистан, Узбекистан, Туркме­ния) они составляют 3, 9—5, 6 % годовых, в остальных райо­нах— 3, 3—4, 4% в расчете на безводный спирт (при вмести­мости бочек до 70 дал). На третьем году выдержки потери сни­жаются на 5 %, в последующие годы — на 10 % °т общей нормы потерь.

Выдержка коньячных спиртов в стальных эмалированных резервуарах применяется для полу­чения ординарных коньяков (Три звездочки). Используют ду­бовые клепки из расчета 8001000 г на 1 дал спирта со сле­дующими размерами (в мм): длина 400—1150, ширина 60—150, толщина 18—36. Клепки предварительно подвергают воздушной сушке в штабелях под навесом не менее трех лет. Перед за­грузкой в резервуары их обрабатывают водой и паром так же, как и новые бочки. Технологическими правилами разрешено использовать дубовые клепки (50%), обработанные щелочным


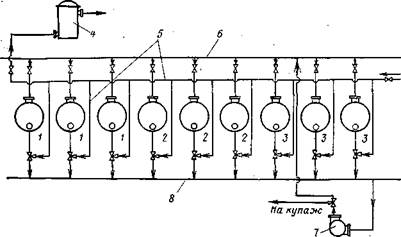
Рис. 78. Аппаратурно-технологическая схема выдержки коньячного спирта в пульсирующем потоке:

/, 2, 3 — резервуары; 4 — спиртоловушка; 5 — газоотводные трубы; 6— нагнетательная линия; 7 — насос; 8 — всасывающая линия

способом (вымачивание в 0, 3 %-ном растворе NaOH 2—6 сут при 10—25 °С, промывка после слива щелочи 3—4 раза в тече­ние 8—12 ч холодной водой, сушка 6 сут при обычных условиях или 1 сут в сушилке при 45 °С) или термическим способом (вы­держка клепок при доступе воздуха 5—7 дней при 105—120 °С до появления легкой коричневой окраски, промывка холодной и горячей водой).

Спирты выдерживают в неполных резервуарах с недоливом не более 5 %. Спирт насыщают кислородом при перемешивании до создания давления в резервуаре 20 кПа.

Экспериментальные исследования последних лет, проведен­ные в Армянской ССР, показали, что эффективность резерву-арной выдержки коньячных спиртов можно повысить при ее осуществлении в пульсирующем потоке с отбором 4 раза в год выдержанного трехлетнего спирта и восполнением взятого объ­ема более молодым спиртом. Предложенная аппаратурно-тех­нологическая схема (рис. 78) включает три секции резервуаров с дубовыми клепками. При установившемся режиме работы в каждой секции находится спирт со сроком выдержки соответ­ственно 1, 2 и 3 года. В схеме предусмотрены также резервуары, в которые задается молодой спирт для доливки. Все резервуары соединены между собой трубопроводами. Количество резервуа­ров в каждой секции определяется кратностью отъема спирта. Так, если отъем составляет '/з, то число резервуаров будет 3, при отборе 'Д—4.

В схеме предусмотрена активация дубовых клепок в третьей


секции путем кратковременного, их контакта с воздухом. Про­цесс проводится поочередно в порожних резервуарах с таким расчетом, чтобы клепки каждого резервуара подвергались ак­тивации каждые 9 мес. Продолжительность активации состав­ляет 5 сут, после чего резервуар заполняется трехлетним конь­ячным спиртом. При этом в дубовых клепках создается и под­держивается активный слой с высоким содержанием свободных радикалов, что ускоряет прохождение ОВ-реакций. Одновре­менно активация и перемещение спиртов от молодого к более выдержанному повышают степень насыщенности их кислородом воздуха и ускоряют их созревание. Предложенный способ дает возможность автоматизировать технологический процесс, полу­чать спирты однородного состава и высокого качества.

Способы ускоренного созревания коньячных спиртов. Они основаны на воздействии различными физическими, физико-хи­мическими и химическими средствами на коньячный спирт либо древесину дуба, или внесении экстрактов древесины дуба в конь­ячный спирт-

К физическим способам обработки коньячных спиртов отно­сятся нагревание, ИФ- и УФ-облучение, обработка ультразву­ком. На практике применение получила только тепловая обра­ботка. Ее проводят в присутствии древесины дуба в резервуарах для обогащения коньячного.спирта экстрактивными веществами. Длительность выдержки при температуре 35—45 °С составляет 45—50 дней. Обработанный таким образом коньячный спирт вы­держивают затем в старых коньячных бочках.

Обработке древесины дуба до залива коньячного спирта уделяется много внимания. Целью такой обработки является активация поверхности клепок, разрушение высокомолекуляр­ных соединений древесины и обеспечение перехода продуктов деградации в коньячный спирт. Для этого древесину подвергают термической обработке под давлением кислорода либо аммиака, у-излучением, кислотной и щелочной обработкам и др. Путь этот несомненно перспективен.

Использование экстрактов древесины дуба (жидких и сухих) нашло применение в некоторых зарубежных государствах. Их получают путем извлечения водой и спиртом растворимых веществ древесины и последующей концентрации под вакуумом. Основными составными веществами являются танины, лигнины, флавоноиды, ароматические альдегиды. Расширение их приме­нения требует дальнейших углубленных исследований.

ПРИГОТОВЛЕНИЕ КОНЬЯКОВ

В Советском Союзе выпускаются ординарные, марочные и коллекционные коньяки. Ординарные коньяки —три, четыре и пять звездочек'— готовят из коньячных спиртов, выдержанных соответственно не менее трех, четырех, пяти лет. Их крепость


Таблица 19


Продолжение табл. 19


 


 

  Кондиции Срок выдержки, лет  
Наименование спирт, % об. сахар, Тип
         

 

 

  Кондиции Срок выдержки, лет  
Наименование спирт, '„ об. сахар, Тип
         

 


РСФСР

Лезгинка   1, 2   KB
Дербент   1, 2 6-7 кв
Эльбрус   1, 2 6—7 KB
Ставрополь   1, 2 6-7 KB
Большой приз   1, 2 6—7 кв
Вайнах   1, 2 8—10 кввк
Юбилейный   0, 7   кввк
Кубань   1, 2   кввк
Каспий   1, 0   кввк
Эрзи   0, 7   КС
Кизляр   1, 2 Более 10 КС
Дагестан   1, 0   КС
Нарын-Кала   0, 7 10—12 КС
Краснодар   1, 0   КС
Россия   1, 0   КС
Махачкала   0, 7   КС
Украинская ССР        
Таврия   1, 2 6-7 кв
Тисса   1, 2 6-7 кв
Коктебель   1, 2 6-7 кв
Чайка   1, 2 6-7 кв
Каховка   0, 7   кввк
Ай-Петри " 42 0, 7 8—10 кввк
Карпаты   0, 7   кввк
Славутич   0, 7   КС
Черноморский   1, 5   КС
Крым   1, 0   КС
Аркадия   0, 7   КС
Одесса   1, 2   КС
Днепро   0, 7   КС
Украина   0, 7   КС
Киев   1, 2   ..КС
Русь   0, 7   КС
Грузинская ССР        
Варцихе   1, 2 6-7 кв
Греми   0, 7 8—9 кввк
Казбеги   0, 7   КС
Абхазети   1, 2   КС
ОС   0, 7 10—12 КС
Енисели   0, 7 12—14 КС
Тбилиси   0, 7 15—20 КС
Сакартвело   0, 7   КС
Вардзия ■   0, 7   КС
Азербайджанская ССР        
Гянджа   1, 2 6-7 кв
Гек-Гель   1, 2 6-8 кв
Бакы   1, 2 8—10 кввк
Юбилейный   0, 7   КС
Москва   1, 2   КС
Азербайджан   0, 7 10—11 КС
Ширван   0, 7   КС

 

Молдавская ССР        
Молдова   1, 2 6—7 КВ
Калараш   1, 2 6—7 кв
Нистру   2, 5 8—10 кввк
Дойна   0, 7 8-10 кввк
Сюрпризный   1, 5 10 и более КС
Букурия   0, 7 10 и более КС
Кишинэу   0, 8 10—12 КС
Праздничный   0, 9   КС
Лучезарный   1, 0 12-14 КС
Юбилейный   1, 5   КС
Солнечный   1, 0   КС
Кодру   0, 8   КС
Виктория   1, 0   КС
Армянская ССР        
Отборный   1, 2   кв
Юбилейный   0, 7   КС
Праздничный   1, 2   КС
Двин   0, 7   КС
Армения   0, 7   КС
Ереван   0, 7   КС
Ахтамар   1, 0 Более 10 КС
Урарту   1, 0 Более 15 КС
Васпуракан   1, 0   КС
Наири   1, 2 Более 20 КС
Республики Средней Азии        
Самарканд (Узбекская ССР)   1, 2 6—7 кв
Женис (Казахская ССР)   1, 2   кв
Киргизстан (Киргизская   1, 2 6—7 кв
ССР)        
Манас (Киргизская ССР)   0, 7 8—10 кввк

составляет соответственно 40, 41, 42 % об., сахаристость— 1, 5 %■ В настоящее время разрабатывается технология единой марки ординарного коньяка из спиртов, выдержанных от 3 до 5 лет, при среднем их возрасте 3, 5—4 года.

Марочные коньяки готовят из выдержанных коньячных спир­тов, средний возраст которых не менее 6 лет. В зависимости от возраста использованного спирта различают три группы мароч­ных коньяков: КВ (коньяк выдержанный), КВВК (коньяк вы­держанный высшего качества), КС (коньяк старый). Для их приготовления используют спирты, выдержанные соответственно 6—7 лет, 8—10 и свыше 10 лет. Содержание спирта в марочных коньяках составляет 40—45 % об. Лишь в отдельных коньяках оно может быть выше (табл. 19). Сахаристость марочных конь­яков колеблется в пределах 0, 7—1, 5%. Исключение составляет коньяк Нистру, содержащий 2, 5 % сахара.


Коллекционные коньяки готовят из марочных коньяков вы­сокого качества после их выдержки свыше 5 лет в дубовых бочках или бутах. Технологическими правилами допускается использование более молодых спиртов при производстве мароч­ных коньяков; для группы KB — не моложе пятилетних, КВВК — не моложе шестилетних, КС — не моложе семилетних.

Материалы, используемые при изготовлении коньяков. Для приготовления коньяков используют выдержанный коньячный спирт, умягченную воду, сахарный сироп. Допускается в случае необходимости применение колера, спиртованных и душистых вод, купажных коньяков.

Умягченная вода применяется для снижения крепости коньячного спирта. Готовится из питьевой воды путем ее ди­стилляции или обработки ионообменными смолами для удале­ния солей тяжелых металлов до жесткости не более 0, 36 мг-экв./л. Разрешено использование естественной воды, жесткость которой не превышает 1 мг-экв./л. Очистка воды от металлов проводится для предупреждения помутнений конья­ков.

Спиртованные воды готовят разбавлением коньячного спирта до 20—25 % об. умягченной водой. Затем их выдержи­вают в бочках или резервуарах с древесиной дуба при темпе­ратуре 35—40 °С в течение 60—70 сут. Возраст исходного конь­ячного спирта должен быть равен среднему возрасту спиртов, используемых для приготовления данной марки коньяка- Спир­тованные воды, как и умягченная вода, применяются для сни­жения крепости коньячного спирта. Ассимиляция их со спиртом проходит быстрее, чем умягченной воды.

Душистые воды получают при простой или фракцион­ной перегонке, отбирая погоны крепостью от 50 до 20 % об. Они обладают приятным ароматом, улучшающимся при выдержке. Такую выдержку проводят в новых обработанных бочках или в резервуарах с дубовыми клепками при температуре 35—40 °С до 70 сут. Используют для усиления в коньяке аромата и умяг­чения вкуса.

Сахарный сироп применяется для придания коньякам заданных кондиций по сахаристости. Готовят его путем раство­рения сахара в умягченной воде при нагревании в специальных стальных эмалированных резервуарах —реакторах. В кипящую воду при постоянном перемешивании вносят сахар из расчета 1 кг на 0, 05 дал. Нагрев прекращают после полного растворе­ния сахара. В полученный сироп добавляют коньячный спирт (четырехлетний для ординарных и семилетний для марочных), а также лимонную кислоту из расчета 330 г на 100 л и хранят не менее года до использования.

Колер служит для придания коньякам более интенсивной окраски. Готовят его в медных котлах с огневым или электри­ческим обогревом из рафинированного сахара-песка с добав-

440 www.ovine.ru


лением 1—2 % воды при постоянном перемешивании. Нагрев проводят до температуры 180—190 °С. При потемнении образо­вавшейся пены до темно-вишневого цвета нагрев массы пре­кращают и добавляют в нее после охлаждения до 60—70 °С горячую воду при непрерывном перемешивании из расчета 0, 055 дал на 1 кг сахара. Полученный колер должен иметь тем­но-вишневый цвет, плотность 1, 30—1, 34 г/см3, содержать 30— 40 % остаточного сахара и не давать помутнений в спирте кре­постью 40—50 % об. Рекомендуется его подспиртовывать до 25—30 % об. пятилетним коньячным спиртом и хранить до ис­пользования не менее года.

Для улучшения технологических свойств колера предложено добавлять при варке автолизат дрожжей, пищевую соду, хлорид аммония.

Купажные коньяки представляют собой старые, часто коллекционные коньяки, которые используют при получении от­дельных марок коньяков для улучшения их качества.

Купаж, обработка и розлив коньяков. Коньяк готовят купа­жированием исходных материалов на основании пробных ку-пажей. Полученный купаж в случае необходимости (при нали­чии неприятной грубости) оклеивают (желатином, рыбьим клеем, яичным белком) или обрабатывают бентонитом, филь­труют, оставляют на отдых, снова фильтруют и направляют на розлив. Нестабильные коньяки обрабатывают холодом при тем­пературе минус 8—12°С в течение 5—10 сут. Длительность от­дыха ординарных коньяков составляет не менее 3 мес, мароч­ных групп KB —не менее 6 мес, групп КВВК и КС — не менее года.

Розлив коньяка проводят при температуре 15—20°С в бу­тылки вместимостью 0, 7; 0, 5; 0, 25 лив сувенирные бутылки.

Цвет коньяков должен быть от светло-золотистого до янтар-но-коричневого, вкус и букет — соответствовать своему типу, без посторонних привкусов и запахов. Они должны быть про­зрачными, с блеском, не иметь осадков.


Поделиться с друзьями:

mylektsii.su - Мои Лекции - 2015-2026 год. (1.245 сек.)Все материалы представленные на сайте исключительно с целью ознакомления читателями и не преследуют коммерческих целей или нарушение авторских прав Пожаловаться на материал