Студопедия

Главная страница Случайная страница

КАТЕГОРИИ:

АвтомобилиАстрономияБиологияГеографияДом и садДругие языкиДругоеИнформатикаИсторияКультураЛитератураЛогикаМатематикаМедицинаМеталлургияМеханикаОбразованиеОхрана трудаПедагогикаПолитикаПравоПсихологияРелигияРиторикаСоциологияСпортСтроительствоТехнологияТуризмФизикаФилософияФинансыХимияЧерчениеЭкологияЭкономикаЭлектроника






Выбор схемы установки заготовки






 

Задачи подраздела:

- разработать теоретическую схему базирования;

- разработать схему установки заготовки.

Теоретическую схему базирования заготовки на рассматриваемой технологической операции следует разрабатывать в соответствии с требованиями ГОСТ 2149-76 «Базирование и базы в машиностроении»:

1) положение заготовки на схеме должно соответствовать рабочему

положению заготовки на станке во время выполнение операции;

2) конфигурация заготовки должна быть такой, какую она имеет к моменту

начала операции;

3) опорные точки на схеме базирования обозначаются согласно рисунку 5.1,

размеры опорных точек могут быть изменены в соответствии с

выбранными масштабами;

Рисунок 5.1 – Условное обозначение опорной точки: а – вид спереди и сбоку; б – вид сверху

4) должно быть выполнено правило шести точек [6, с. 12…13], [7, с. 85…88]. Нумерация опорных точек начинается с базы, несущей наибольшее их количество, как это указано на рисунке 5.2;

Рисунок 5.2 – Схема базирования вала на операции фрезерования шпоночного паза

5) следует стремиться к соблюдению принципа совмещения баз. Если этот принцип по каким-то причинам не выполняется (рисунок 5.3), то необходимо рассчитать погрешность базирования [7, с. 89…94], [6, с. 12…17].

Рисунок 5.3 Схема базирования вала с нарушением принципа совмещения баз.

6) количество проекций на схеме должно быть достаточным, чтобы было ясно расположение опорных точек на элементах заготовки (рисунки 5.2, 5.3).

Кроме этого на схеме указывается система координат заготовки (рисунок 5.2), а в таблице приводятся степени свободы, лишаемые с помощью опорных точек (таблица 5.2).

 

 

Таблица 5.2 – Лишаемые степени свободы

№ опорной точки            
Степень свободы z y y   z   x x

 

Схему установки заготовки целесообразно разрабатывать в следующей последовательности.

1. Выберите тип, конфигурацию и число установочных элементов, с помощью которых будет реализована теоретическая схема базирования [6, с.18…31], [8, с.10…60], [9, с.327…374].

2. Определите расположение установочных элементов относительно баз заготовки. При этом должно быть обеспечено устойчивое и надёжное положение во время обработки.

3. Определите на заготовке точку приложения усилия закрепления и направление усилия.

4. Выполните эскиз заготовки в рабочем положении.

5. Нанесите на эскизе контуры установочных элементов приспособлений, как это показано на рис. 5.4.

6. Укажите на эскизе контуры зажимных элементов и вектор усилия закрепления W.

7. Приведите рядом с контурами установочных и зажимных элементов их условное обозначение в соответствии с ГОСТ 3.1107 – 81 «Опоры, зажимы установочные устройства. Графические обозначения» [9, с. 9…12], [10, с. 49…51]. Пример схемы установки заготовки на операции фрезерования шпоночного паза приведён на рис. 5.5.

В ряде случаев (токарная или шлифовальная обработка дисков, колец, втулок) материализация теоретической схемы базирования может быть осуществлена с помощью центрирующих зажимных устройств (самоцентрирующие кулачковые, цанговые, мембранные патроны, оправки с гидропластмассой). В этих устройствах установочные и зажимные элементы совмещены. Такие устройства имеют отличные от других условное обозначение [10, с.50], которые должны быть указаны на схеме установки заготовки.

 

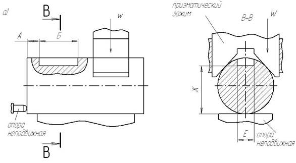
Рисунок 5.4 – Варианты установки вала: а) с помощью призматического зажима; б) в самоцентрирующих тисках

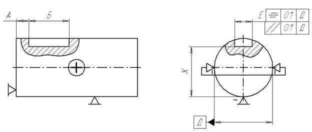
Рис. 5.5 – Схема установки вала в самоцентрирующих тисках.

 


Поделиться с друзьями:

mylektsii.su - Мои Лекции - 2015-2026 год. (4.117 сек.)Все материалы представленные на сайте исключительно с целью ознакомления читателями и не преследуют коммерческих целей или нарушение авторских прав Пожаловаться на материал