Студопедия

Главная страница Случайная страница

КАТЕГОРИИ:

АвтомобилиАстрономияБиологияГеографияДом и садДругие языкиДругоеИнформатикаИсторияКультураЛитератураЛогикаМатематикаМедицинаМеталлургияМеханикаОбразованиеОхрана трудаПедагогикаПолитикаПравоПсихологияРелигияРиторикаСоциологияСпортСтроительствоТехнологияТуризмФизикаФилософияФинансыХимияЧерчениеЭкологияЭкономикаЭлектроника






Способи кріплення моделей на модельних плитах






 

При машинному формуванні в умовах дрібносерійного і серійного виробництва виливків дерев'яні моделі монтують на модельних плитах. При індивідуальному і дрібносерійному виробництві доцільно застосовувати координатні плити, причому для формування верхніх і нижніх напівформ використають ту саму координатну плиту, міняючи лише моделі. Фіксація ливарних дерев'яних моделей на координатних модельних плитах провадиться штифтами (при висоті моделі до 300 мм) або штирями відповідно ГОСТ 20346-74. Розміри штифтів і штирів вибираються залежно від середніх габаритних розмірів моделі (рис. 5.12, 5.13, табл. 5.12, 5.13).

 

1 - модель, 2 - плита модельна, 3 - штифт, 4 - пластина, 5 - шуруп

Рисунок 5.12 - Фіксація моделей штифтами

Таблиця 5.12 -Розміри штифтового фіксатора

Середній габаритний розмір моделі, мм d, мм d1, мм
До 250    
Понад 250 до 400    
Понад 400 до 630    

 

Довжина штифта l визначається конструктивно.

 

1 - модель, 2 - плита модельна, 3 - штир, 4 - пластина, 5 - шуруп

Рисунок 5.13 - Фіксація моделей штирями

Таблиця 5.13 – Розміри штирового фіксатора, мм

Середній габаритний розмір моделі, мм d d1 d2 d3 H, не менше  
 
До 250            
Понад 250 до 400            
Понад 400 до 630            
Понад 630 до 1000            
Понад 1000 до 1500            

 

При серійному виробництві кріплення ливарних дерев'яних моделей на металевих модельних плитах проводиться гвинтами (при висоті моделі до 36 мм), рис. 5.14, табл. 5.14, шурупами (при висоті моделі до 50 мм), рис. 5.15, табл. 5.15, пластинами (при висоті моделі до 500 мм), рис. 5.16, табл. 5.16 а також болтами і гвинтами (при висоті моделі понад 500 мм), рис. 5.17, табл. 5.17.

 

 

1 - модель, 2 - плита модельна, 3 - гвинт, 4 - гайка, 5 - шайба

Рисунок 5.14 - Кріплення моделей гвинтами

Таблиця 5.14 – Розміри гвинтового кріплення

Середній габаритний розмір моделі, мм Типорозмір гвинта, ГОСТ 17475-80
До 160 А.М5-6gxL.48
Понад 160 до 250 А.М6-6gxL.48
Понад 250 до 400 А.М8-6gxL.48

 

Довжина гвинта l визначається конструктивно

 

 

1 - модель, 2 - плита модельна,

3 - шуруп

Рисунок 5.15 - Кріплення моделей шурупами

Таблиця 5.15 –Розміри кріплення шурупами

Середній габаритний розмір моделі, мм Шуруп за ГОСТ 1145-80
До 250 5хL.2
Понад 250 до 400 6хL.2
Понад 400 до 630 8хL.2

 

Довжина шурупа l визначається конструктивно.

 

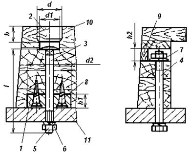
1 - модель, 2 - плита модельна, 3 - пластина, 4 - болт, 5 - шайба, 6 - шуруп

Рисунок 5.16 - Кріплення моделей пластинами

Таблиця 5.16 -Розміри кріплення пластинами

Середній габаритний розмір моделі, мм d, мм h, мм Типорозмір гвинта, ГОСТ 17475-80 Шуруп за ГОСТ 1145-80
До 250     М8-8gxL.58 1-8хL.2
Понад 250 до 400     М10-8gxL.58
Понад 400 до 630     М12-8gxL.58
Понад 630 до 1000     М16-8gxL.58

 

Довжина болта l визначається конструктивно

 

а б

а - кріплення моделі гвинтом, б - кріплення моделі болтом, 1 - пластина,

2 - пробка, 3 - гвинт, 4 - болт, 5 - гайка, 6, 7 - шайба, 8 - шуруп,

9 - заглушка, 10 - модель, 11 - плита модельна

Рисунок 5.17 - Кріплення моделей гвинтами і болтами

Таблиця 5.17 - Розміри кріплення гвинтами і болтами, мм

Середній габаритний розмір моделі, мм d d1 d2 h h1 h2 Типорозмір гвинта, ГОСТ 17475-80 Болт за ГОСТ 7802-72 Гайка за ГОСТ 5927-70
До 630             А.М10-6gxL.48 М10-6gx хL.48.05 М10-6Н.5
Понад 630 до 1000             А.М12-6gxL.48 М12-6gx хL.48.05 М12-6Н.5
Понад 1000 до 1400             А.М16-6gxL.48 М16-6gx хL.48.05 М16-6Н.5
Понад 1400 до 2000             А.М20-6gxL.48 М20-6gx хL.48.05 М20-6Н.5

 

Питання для самостійного пророблення

1) Залежно від чого визначається клас міцності дерев'яного модельного комплекту?

2) Що собою уявляє норма стійкості модельного комплекту?

3) Які види пиломатеріалів застосовуються при виготовленні моделей?

4) Які існують способи з'єднання модельних заготівель?

5) Які існують способи з'єднання і скріплення половин стрижневого ящика?

6) Якими способами можна виконувати галтелі? Від чого залежить вибір способу виконання галтелей?

 

 


Поделиться с друзьями:

mylektsii.su - Мои Лекции - 2015-2026 год. (2.372 сек.)Все материалы представленные на сайте исключительно с целью ознакомления читателями и не преследуют коммерческих целей или нарушение авторских прав Пожаловаться на материал