Студопедия

Главная страница Случайная страница

КАТЕГОРИИ:

АвтомобилиАстрономияБиологияГеографияДом и садДругие языкиДругоеИнформатикаИсторияКультураЛитератураЛогикаМатематикаМедицинаМеталлургияМеханикаОбразованиеОхрана трудаПедагогикаПолитикаПравоПсихологияРелигияРиторикаСоциологияСпортСтроительствоТехнологияТуризмФизикаФилософияФинансыХимияЧерчениеЭкологияЭкономикаЭлектроника






Конструктивні елементи металевих модельних комплектів






 

Металеві моделі можуть бути як суцільними, так і порожнистими. Суцільні моделі допускається виготовляти при невеликих габаритних розмірах (до 50х50 мм) і висоті до 30 мм. В інших випадках металеві моделі виконуються порожнистими.

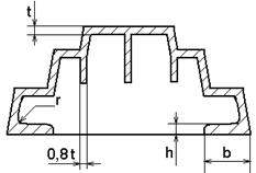
При проектуванні порожнистих моделей повинна бути передбачена відповідна міцність і жорсткість їхньої конструкції, яка забезпечується відповідною товщиною стінок, бортами і ребрами жорсткості. Товщина стінок моделей, ширина бортів і товщина ребер жорсткості призначається залежно від застосовуваного сплаву модельного комплекту і середнього габаритного розміру моделі відповідно до ГОСТ 13138 - 87 (рис. 6.1, табл. 6.1).

 

Рисунок 6.1 – Металева модель

 

Таблиця 6.1 – Розміри стінок, ребер і бортів металевих моделей

Середній габаритний розмір моделі, мм Товщина стінки моделей t, мм r, мм Товщина бортів моделей h, мм Ширина бортів моделей b, мм
Алюміні-євий сплав Чавун Алюміні-євий сплав Чавун Алюміні-євий сплав Чавун
               
До 250  
Понад 250…400  

 

Продовження таблиці 6.1

               
Понад 40…630  
Понад 630…1000  
Понад 100…1600 -  
Понад 1600 -  

 

Допускається для моделей із середнім габаритним розміром до 630 мм і при висоті Н до 100 мм борти не робити.

Ребра жорсткості в моделі можуть доходити до рівня площини рознімання моделі, бути трохи піднятими над рівнем площини рознімання моделі і бути оформлені у вигляді арок.

У моделей з великими горизонтальними площинами висотою до 100 мм нижня частина ребер перебуває на рівні площини рознімання. У дрібних і середніх моделей ребра можуть підніматися на 5...10 мм над площиною рознімання. У високих моделей ребра виконуються у вигляді арок.

Кількість ребер, їхня товщина і розташування залежать від габаритних розмірів моделі. Орієнтовно, кількість ребер може бути прийнята відповідно до табл. 6.2.

 

Таблиця 6.2 – Кількість ребер порожнистої моделі

Довжина або ширина моделі, мм Кількість ребер (рівномірно розташованих)
До 400 1, 2
Понад 401…630 2, 3
Понад 631…1000 3, 4
Понад 1001…1250 4, 5
Понад 1251…1600 5, 6
Понад 1601…2000 6, 7

 

За конструкцією стержньові ящики діляться на два основні типи:

1 Нерознімні відкриті ящики, так звані витрушувальні (односторонні витрушувальні без вкладишів і з вкладишами).

2 Рознімні, ящики, які при видаленні стержня розбираються на дві або більше частин (з горизонтальною або вертикальною площиною рознімання).

Вибір типу стержньового ящика залежить від форми і розмірів стержня. Метод виготовлення стержня також безпосередньо впливає на вибір конструкції ящика для конкретного стержня.

Стержньові ящики, незалежно від методу виготовлення стержнів, повинні бути легкими. Збереження мінімальної маси ящика при забезпеченні необхідної міцності можливе тільки за умови дотримання певної залежності між габаритними розмірами і основними елементами конструкції ящика.

У площині набивання і в площині рознімання стержньові ящики забезпечуються бортами, що оберігають їх від швидкого зношування і збільшують їх жорсткість. В умовах великосерійного і масового виробництва борти алюмінієвих ящиків додатково армують сталевими пластинами. Борти чавунних ящиків не бронюються. Конструктивні елементи стержневих ящиків наведені на рис. 6.2.

 

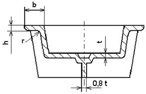
Рисунок 6.2 – Металевий стрижневий ящик

 

Основним елементом ящика, що визначає його міцність, є стінки. Товщина стінок залежить від середнього габаритного розміру, відповідно до ГОСТ 13138 (табл. 6.3).

 

Таблиця 6.3 – Розміри стінок, ребер і бортів металевих стрижневих ящиків

Середній габаритний розмір ящика, мм Товщина стінки ящика t, мм r, мм Товщина бортів ящика h, мм Ширина бортів ящика b, мм
Алю-міні-євий сплав Чавун Алю-міні-євий сплав Чавун Алю-міні-євий сплав Чавун
               
До 250  
Понад 250…400  
Понад 40…630  

 

Продовження таблиці 6.3

               
Понад 630…1000  
Понад 100…1600 - -  
Понад 1600 - -  

 

Для зручності необхідно передбачати спеціальні елементи (вікна в ребрах, ручки, додатки, вушка та ін.) для утримання ящика або його частин в рівновазі при відділенні від стержня. З урахуванням цього, при проектуванні ящика, передбачаються спеціальні конструктивні елементи, наприклад литі ручки (рис. 6.3).

 

 

Рисунок 6.3 - Ручки литі для алюмінієвих стержньових ящиків з габаритним розміром до 500 мм

 

У стержньових ящиках з середнім габаритним розміром понад 500 мм рекомендується застосовувати укручувані ручки, або цапфи. Кількість цапф і їх розташування визначається конструктивно.

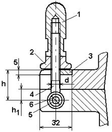
Ящики, встановлювані на машини, повинні мати надійне та просте за конструкцією кріплення до столу машини. В стержньових ящиках передбачаються приливки – вушка з прорізами для болтів. Число вушок залежить від розмірів ящиків, але повинне бути не менше чотирьох. Розміри і конструкція вушок повинні виключати можливість відриву їх від ящика.

Для з'єднання рознімних ящиків застосовуються штирі двох типів: регульовані (рис. 6.4, табл. 6.4) і нерегульовані (рис. 6.5, табл. 6.5).

 

1 - штир регульований, 2 - втулка конусна, 3 - втулка прорізна,

4 – гайка, 5 – шайба

Рисунок 6.4 - Конструкція з'єднання регульованими штирями

 

Таблиця 6.4 - Розміри з'єднань регульованими штирями

Середній габаритний розмір стержньового ящика, мм d, мм D, мм М, мм L, мм
До 250   26, 5 М16  
Понад 250 до 400  
Понад 400 до 630   33, 3 М20  
Понад 630 до 1000   39, 3 М24  

 

1 - штир, 2 - втулка, 3 – гайка

Рисунок 6.5 - Конструкція з'єднання рознімних ящиків нерегульованими штирями

 

Таблиця 6.5 - Розміри з'єднань рознімних ящиків нерегульованими штирями

Середній габаритний розмір стержньового ящика, мм d, мм d1, мм L, мм
До 250     50, 65
Понад 250 до 400     50, 65, 80
Понад 400 до 630     60, 75, 90
Понад 630 до 1000     75, 90, 110

 

Для скріплення частин стержньового ящика застосовують замки декількох видів. Найлегші з них і простіші у виготовленні – це відкидні з гайкою-баранчиком або з відкидними ручками. Конструкція і розміри кріплень за ГОСТ 199406 вказані на рис. 6.6, 6.7 і наведені в табл. 6.6, 6.7.

 

 

1 – пластина, 2 – гайка, 3 - болт відкидний, 4 – вісь, 5 - шплінт

Рисунок 6.6 - Кріплення відкидними болтами

Таблиця 6.6 – Розміри кріплень відкидними болтами

Середній габаритний розмір стержньового ящика, мм d, мм h, мм h1, мм
До 250 М8    
Понад 250 до 400
Понад 400 до 630 М10    
Понад 630 до 1000    

 

 

1 – ручка, 2 –контргайка, 3 –пластина, 4 - болт відкидний, 5 – вісь,

6 - шплінт

Рисунок 6.7 - Кріплення відкидними ручками

 

Таблиця 6.7 – Розміри кріплень відкидними ручками

Середній габаритний розмір стержньового ящика, мм d, мм h, мм h1, мм
До 400 М8    
Понад 400 до 630 М10    

 

Стержньові ящики, призначені для виготовлення стержнів на піскодувних машинах, мають ряд інших конструкційних особливостей [4].


Поделиться с друзьями:

mylektsii.su - Мои Лекции - 2015-2026 год. (2.702 сек.)Все материалы представленные на сайте исключительно с целью ознакомления читателями и не преследуют коммерческих целей или нарушение авторских прав Пожаловаться на материал