Студопедия

Главная страница Случайная страница

КАТЕГОРИИ:

АвтомобилиАстрономияБиологияГеографияДом и садДругие языкиДругоеИнформатикаИсторияКультураЛитератураЛогикаМатематикаМедицинаМеталлургияМеханикаОбразованиеОхрана трудаПедагогикаПолитикаПравоПсихологияРелигияРиторикаСоциологияСпортСтроительствоТехнологияТуризмФизикаФилософияФинансыХимияЧерчениеЭкологияЭкономикаЭлектроника






Способи кріплення металевих моделей на модельних плитах






 

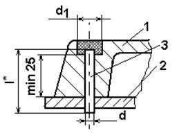
Положення металевих моделей в процесі їх монтажу і експлуатації фіксується на плиті за допомогою контрольних штифтів. Кількість контрольних штифтів не повинна бути меншою двох і більше чотирьох, а їх розміри залежать від розмірів моделі. Для кращої фіксації моделей відстань між штифтами повинна бути якомога більшою. Приклад фіксації металевої моделі штифтами на модельній плиті показано на рис. 6.8 і в табл. 6.8. Довжина штифта l* визначається конструктивно.

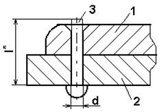
Кріплення металевих моделей на модельних плитах проводиться гвинтами або заклепками (при висоті моделі до 36 мм), шпильками (при висоті моделі до 45 мм), і болтами (при висоті моделі більш 45 мм). Приклади кріплення металевих моделей на модельній плиті за ГОСТ 20341-74 наведені на рис. 6.9, 6.10 і 6.11, а розміри - в табл. 6.9, 6.10, 6.11.

 

 

1 – модель, 2 – модельна плита, 3 штифт

Рисунок 6.8 - Приклад фіксації моделі на модельній плиті

 

Таблиця 6.8 – Фіксація металевих моделей штифтами на металевих модельних плитах

Середній габаритний розмір моделі, мм d, мм d1, мм
До 400    
Понад 400 до 630    
Понад 630 до 1000    

 

 

1 – модель, 2 – модельна плита, 3 – гвинт

Рисунок 6.9 - Кріплення металевих моделей гвинтами

Таблиця 6.9 – Розміри кріплення металевих моделей гвинтами

Середній габаритний розмір моделі, мм d, мм
До 160 М6
Понад 160 до 250 М8
Понад 250 до 400 М10

Довжина гвинтів l* визначається конструктивно.

 

 

1 – модель, 2 – модельна плита, 3 - заклепка

Рисунок 6.10 - Кріплення металевих моделей заклепками

 

Таблиця 6.10 – Розміри кріплення металевих моделей заклепками

Середній габаритний розмір моделі, мм d, мм
До 160  
Понад 160 до 250  
Понад 250 до 400  
Понад 400 до 1000  

Довжина заклепок l* визначається конструктивно.

 

Виконання 1 Виконання 2

1 – модель, 2 – модельна плита, 3 – болт

Рисунок 6.11 - Кріплення металевих моделей болтами

 

Таблиця 6.11 – Розміри кріплення металевих моделей болтами

Середній габаритний розмір моделі, мм d, мм d1, мм
До 250 М8  
Понад 250 до 400 М10  
Понад 400 до 630 М12  
Понад 630 М16  

Довжина болтів l* визначається конструктивно.

 

Фіксація металевих моделей закритих надливів на моделях виливків або на плитах виконується за допомогою болтів. Приклад такої фіксації наведено на рис. 6.12 а розміри – у табл. 6.12.

 

 

1 – модель виливка або модельна плита, 2 – модель надливу, 3 – болт

Рисунок 6.12 - Кріплення металевих моделей надливів

 

Таблиця 6.12 – Розміри кріплення металевих моделей надливів

D, мм d, мм D1, мм
До 100 М10  
Понад 100 до 160 М12  
Понад 160 до 250 М16  

Довжина болтів l* визначається конструктивно.

 

Отвори для штифтів, головок гвинтів і болтів після кріплення моделей на плитах повинні бути замазані епоксидною смолою з додаванням алюмінієвої пудри.

Питання для самостійного пророблення

1) Назвіть об'єкти металомодельної оснастки.

2) Який порядок виготовлення металевих модельних комплектів?

3) Як підрозділяються металеві моделі по конструктивних ознаках?

4) На підставі чого вибирається товщина стінок порожнистих моделей і ящиків, товщина і кількість ребер жорсткості?

5) Назвіть способи скріплення частин стержньового ящика?

6) Назвіть способи кріплення металевих моделей на модельних плитах. Залежно від чого вони вибираються?

 


Поделиться с друзьями:

mylektsii.su - Мои Лекции - 2015-2026 год. (3.215 сек.)Все материалы представленные на сайте исключительно с целью ознакомления читателями и не преследуют коммерческих целей или нарушение авторских прав Пожаловаться на материал