Студопедия

Главная страница Случайная страница

КАТЕГОРИИ:

АвтомобилиАстрономияБиологияГеографияДом и садДругие языкиДругоеИнформатикаИсторияКультураЛитератураЛогикаМатематикаМедицинаМеталлургияМеханикаОбразованиеОхрана трудаПедагогикаПолитикаПравоПсихологияРелигияРиторикаСоциологияСпортСтроительствоТехнологияТуризмФизикаФилософияФинансыХимияЧерчениеЭкологияЭкономикаЭлектроника






Система охлаждения






Система охлаждения двигателя жидкостная за­крытого типа с принудительной циркуляцией ох­лаждающей жидкости. Основными элементами си­стемы (рис. 56) являются водяной насос 8, радиатор, термостаты 22, вентилятор 10, гидромуфта привода вентилятора, включатель 15 гидромуфты, расшири­тельный бачок 20, перепускные трубы, жалюзи.

Во время работы двигателя циркуляция охлаж­дающей жидкости в системе создается центробеж­ным насосом. Жидкость нагнетается в водяную по­лость левого ряда цилиндров, а через трубу 12 — в водяную полость правого ряда цилиндров. Омывая наружные поверхности гильз цилиндров, ох­лаждающая жидкость через отверстия в верхних привалочных плоскостях блока цилиндров посту-

Рис. 56. Схема системы охлаждения: 1 - труба перепус­кная от радиатора к расширительному бачку; 2 - трубка соединительная от компрессора к бачку; 3 - компрессор; 4, 6 - трубы водосборные; 5 - труба соединительная водяная; 7 - труба перепускная термостатов; 8 - насос водяной; 9 - колено отводящего патрубка водяного трубопровода; 10 - вентилятор; 11 - экран сливной системы охлаждения; 12 - труба подводящая правого ряда цилиндров; 13 - патрубок подводящей трубы; 14 -головка цилиндров; 15 - включатель гидромуфты приво­да вентилятора; 16 - коробка термостатов; 17 - патрубок отвода охлаждающей жидкости из бачка в водяной насос; 18 - патрубок отвода охлаждающей жидкости в отопитель; 19 - кран контроля уровня охлаждающей жидкости; 20 - бачок расширительный; 21- пробка паровоздушная; 22 - термостат; I - из радиатора; II - в насос при закрытых термостатах; III - в радиатор при открытых термостатах


Рис. 57. Термостат: 1, 5- клапаны; 2, 4 - пружины; 3, 6 -стойки; 7, 12 - гайки регулировочные; 8 - шток; 9 -баллон; 10 - масса активная (церезин); 11 - вставка резиновая с шайбой

пает в водяные полости головок цилиндров. Из головок цилиндров горячая жидкость по водяным трубам 4 и 6 поступает в коробку 16 термостатов, из которой в зависимости от температуры направ­ляется в радиатор или на вход водяного насоса.

Температура охлаждающей жидкости в системе плюс 8О...98°С. Тепловой режим двигателя регулиру­ется автоматически термостатами и включателем гидромуфты привода вентилятора, которые управ­ляют направлением потока жидкости и работой вентилятора в зависимости от температуры охлажда­ющей жидкости в двигателе.

Для ускорения прогрева двигателя, а также поддер­жания температурного режима двигателя в холодное время года перед радиатором установлены жалюзи.

Термостаты (рис. 57) с твердым наполнителем и прямым ходом клапана, предназначенные для авто­матического регулирования теплового режима двига­теля, размещены в коробке (см. рис. 56), закрепленной на переднем торце правого ряда блока цилиндров.

На холодном двигателе вход жидкости в радиатор перекрыт клапаном 5 (см. рис. 57), а вход в перепус­кную трубу к водяному насосу открыт клапаном 1. Охлаждающая жидкость циркулирует, минуя радиа­тор, что ускоряет прогрев двигателя.

При достижении температуры охлаждающей жид­кости 80 " С активная масса — церезин 10, за­ключенная в баллоне 9, плавится, увеличиваясь в объеме. При этом баллон 9 начинает перемещаться вправо, открывая клапан 5 и закрывая клапан 1. Охлаждающая жидкость начинает циркулировать через радиатор. При диапазоне температур 80.... 93 " С охлаждающая жидкость продолжает поступать через перепускную трубу на вход насоса и через радиатор, клапаны 1 и 5 открыты частично.

При температуре 93°С происходит полное от­крытие клапана 5, при этом вся жидкость цирку­лирует через радиатор.

При снижении температуры охлаждающей жид­кости до 80 " С и ниже объем церезина уменьшается, и клапаны под действием пружин 2 и 4 термостата занимают первоначальное положение.

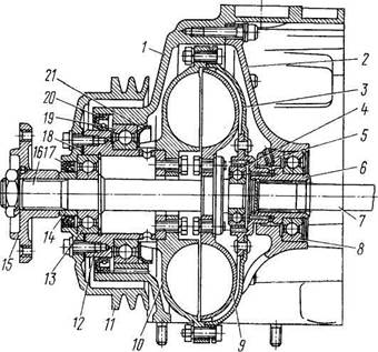
Гидромуфта привода вентилятора (рис. 58) пере­дает крутящий момент от коленчатого вала к венти­лятору.

Передняя крышка 1 блока и корпус 2 подшипника соединены винтами и образуют полость, в которой установлена гидромуфта. Ведущий вал 6 в сборе с кожухом 3, ведущее колесо 10, вал 12 и шкив 11, соединенные болтами, составляют ведущую часть гидромуфты, которая вращается в шариковых под-



Автомобили КамАЗ




Рис. 58. Гидромуфта привода вентилятора: 1- крышка передняя; 2 - корпус подшипника; 3 - кожух; 4, 8, 13, 19 -подшипники шариковые; 5 - трубка корпуса подшипника; 6 - вал ведущий; 7 - вал привода гидромуфты; 9 - колесо ведомое; 10 - колесо ведущее; 11 - шкив: 12 - вал шкива; 14 - втулка упорная; 15 - ступица вентилятора; 16 - вал ведомый; 17, 20 - манжета с пружинами; 18 - прокладка; 21 - маслоотражатель шипниках 8, 19. Ведущая часть гидромуфты приво­дится во вращение от коленчатого вала через шлице-вой вал 7. Ведомое колесо 9 в сборе с валом 16, на котором закреплена ступица 15 вентилятора, состав­ляет ведомую часть гидромуфты, вращающуюся в шарикоподшипниках 4, 13. Гидромуфта уплотнена резиновыми манжетами 17, 20. На внутренних тороидальных поверхностях ве­дущего и ведомого колес отлиты радиальные лопатки. На ведущем колесе тридцать три лопатки, на ведо­мом — тридцать две. Межлопаточное пространство колес образует рабочую полость гидромуфты.

v 7/ I Рис. 59. Включатель гидромуфты: 1- рычаг пробки; 2 - крышка; 3, 8 -шарики; 4 - пробка; 5 - корпус вклю­чателя; 6 - клапантермосиловой(кор­пус); 7-датчик термосиловой; 9 - коль­цо уплотнительное; 10 - пружина

Передача крутящего момента с ведущего колеса 10 гидромуфты на ведомое колесо 9 происходит при заполнении рабочей полости маслом. Частота вра­щения ведомой части гидромуфты зависит от коли­чества масла, поступающего в гидромуфту.

Масло поступает через включатель (рис. 59), кото­рый управляет работой гидромуфты привода венти­лятора. Он установлен в передней части двигателя на патрубке, подводящем охлаждающую жидкость к правому ряду цилиндров.

Включатель имеет три фиксированных положения и обеспечивает работу вентилятора в одном из режимов:

автоматический — рычаг установлен в поло­
жение À (ð è ñ. 60).

При повышении температуры охлаждающей жид­кости, омывающей термосиловой датчик, активная масса, находящаяся в баллоне датчика, начинает плавиться и, увеличиваясь в объеме, перемещает шток датчика и шарик 8 (см. рис. 59).

При температуре жидкости 86...90°С шарик 8 открывает масляный канал. Масло из главной мас­ляной магистрали двигателя по каналам в корпусе включателя, блоке и его передней крышке, трубке 5 (см. рис. 58), каналам в ведущем валу поступает в рабочую полость гидромуфты; при этом крутящий момент от коленчатого вала передается крыльчатке вентилятора.

При температуре охлаждающей жидкости ниже 86 " С шарик под действием возвратной пружины пере­крывает масляный канал и подача масла в гидромуф­ту прекращается; при этом находящееся в гидромуф­те масло через отверстие в кожухе 3 сливается в картер двигателя и вентилятор отключается.

вентилятор отключен —рычаг установлен в поло­
жение О (см. рис. 60), масло в гидромуфту не подается,
при этом крыльчатка может вращаться с небольшой
частотой, увлекаясь трением в подшипниках и уплот­
нениях гидромуфты и набегающим на вентилятор
потоком воздуха при движении автомобиля.

вентилятор включен постоянно — рычаг уста­
новлен в положение II; при этом в гидромуфту
постоянно подается масло независимо от темпера­
турного режима двигателя, вентилятор вращается
постоянно с частотой, приблизительно равной ча­
стоте вращения коленчатого вала.

Рис. 60. Положения выключателя гидромуфты привода вентилятора: I подача масла из системы смазывания двигателя; II - в гидромуфту

Основной режим работы гидромуфты — авто­матический. При отказе включателя гидромуфты в автоматическом режиме (характеризуется перегревом двигателя) включите гидромуфту в постоянный ре­жим (установите рычаг включателя в положение II) и


Раздел II. Сборочные единицы и системы силового агрегата



 


при первой возможности устраните неисправность.

При форсировании глубоких бродов рычаг вклю­чателя гидромуфты установите в положение О.

Насос водяной (рис. 61) центробежного типа, установлен на передней части блока цилиндров слева. На шкив 1 насоса крутящий момент пере­дается ремнями от шкива гидромуфты, который вращается с угловой скоростью, равной частоте вращения коленчатого вала.

Валик 9 вращается в подшипниках 4 и 6 полу­закрытого типа. Смазывание подшипников в про­цессе эксплуатации проводится через пресс-мас­ленку 5. Манжета 7 предохраняет подшипники от попадания охлаждающей жидкости при нарушении герметичности уплотнения 13. Шкив Дополнительно закреплен болтом 2.

Для контроля исправности уплотнения в корпусе насоса выполнено дренажное отверстие. Заметное подтекание охлаждающей жидкости через это отвер­стие является признаком неисправности уплотнения.

Радиатор водяной — трубчато-ленточный, трех­рядный, с трубками овального сечения, расположен перед двигателем. Он состоит из верхнего и нижнего бачков, остова и каркаса.

Верхний и нижний бачки припаяны к остову, состоящему из трубок, расположенных в три ряда.. Промежутки между трубками заполнены гофри­рованной медной лентой, изогнутой змейкой и при­паянной к трубкам. К верхнему и нижнему бачкам припаяны две боковые стойки, представляющие собой стальные пластины. Вместе с нижней пласти­ной образуют они каркас радиатора.

В верхний бачок впаян подводящий патрубок, в нижний — отводящей патрубок.

Радиатор крепят на автомобиле в трех точках на резиновых подушках, степень затяжки которых ог­раничивается распорными втулками.

Жалюзи — створчатые, управляются из кабины водителя ручкой, расположенной под щитком при­боров, справа от рулевой колонки. Чтобы закрыть жалюзи, надо потянуть ручку на себя. Закрывать

Рис. 61. Насос водяной: 1 - шкив; 2 - болт; 3, 10 - шайбы; 4, 6 - подшипники; 5 - пресс-масленка; 7 - манжета; 8 -кольцо уплотнительное с обоймой; 9 - валик; 11- гайка колпачковая; 12 - кольцо упорное; 13 - уплотнение (сальник); 14 - крыльчатка; 15 - кольцо стопорное; 16 -пылеотражатель


жалюзи следует при прогревании двигателя, а также при движении в случае понижения температуры охлаждающей жидкости.

Жалюзи радиатора предназначены для регу­лирования потока воздуха, прокачиваемого через решетку радиатора. Они выполнены в виде набора горизонтальных пластин из оцинкованного железа, объединены общей рамкой и снабжены шарнирным устройством, обеспечивающим одновременный по­ворот их около осей. Жалюзи прикрепляют к карка­су радиатора перед охлаждающей решеткой.

Вентилятор — осевого типа, пятилопастный, установлен на ведомом валу гидромуфты. Венти­лятор вращается в установленном на рамке радиа­тора диффузоре, который уменьшает подсос ло­пастями воздуха с боков и тем самым способствует увеличению потока воздуха, просасываемого венти­лятором через радиатор.

Бачок расширительный установлен на двигателе с правой стороны по ходу автомобиля и соединен с коробкой термостатов, верхним бачком радиатора и компрессором. Расширительный бачок служит для компенсации изменения объема охлаждающей жид­кости при ее расширении от нагревания, а также позволяет контролировать степень заполнения сис­темы охлаждения и способствует удалению из нее воздуха и пара.

В горловине расширительного бачка установлена паровоздушная пробка 21 (см. рис. 56) с впускным (воздушным) и выпускным (паровым) клапанами. Выпускной клапан, нагруженный пружиной, под­держивает в системе охлаждения избыточное давле­ние до 56, 9... 78, 5 кПа (0, 58... 0, 80 кгс/см2), впускной клапан, нагруженный более слабой пружиной, пре­пятствует созданию в системе разрежения при осты­вании двигателя. Впускной клапан открывается и сообщает систему охлаждения с атмосферой при разрежении 0, 98... 12, 7 ê Ï a (0, 01... 0, 13 ê ã ñ /ñ ì 2).

Охлаждающая жидкость заливается в двигатель через горловину расширительного бачка. Уровень жидкости в расширительном бачке контролируется краником 19 контроля уровня, который должен находиться выше крана контрольного уровня, при этом верхний уровень жидкости в бачке должен быть 1/2...2/3 â û ñ î ò û á à ÷ ê à.

Контроль за температурой охлаждающей жид­кости в системе осуществляется указателем на щит­ке приборов. При возрастании температуры в систе­ме охлаждения до 98 " С в указателе загорается конт­рольная лампа аварийного перегрева охлаждающей жидкости.


Поделиться с друзьями:

mylektsii.su - Мои Лекции - 2015-2026 год. (1.439 сек.)Все материалы представленные на сайте исключительно с целью ознакомления читателями и не преследуют коммерческих целей или нарушение авторских прав Пожаловаться на материал