Студопедия

Главная страница Случайная страница

КАТЕГОРИИ:

АвтомобилиАстрономияБиологияГеографияДом и садДругие языкиДругоеИнформатикаИсторияКультураЛитератураЛогикаМатематикаМедицинаМеталлургияМеханикаОбразованиеОхрана трудаПедагогикаПолитикаПравоПсихологияРелигияРиторикаСоциологияСпортСтроительствоТехнологияТуризмФизикаФилософияФинансыХимияЧерчениеЭкологияЭкономикаЭлектроника






Кран усл. № 254






Рис.12.

2.3. Кран машиниста усл. № 395-000-3 (грузовой): устанавливается с 1977 г.


 

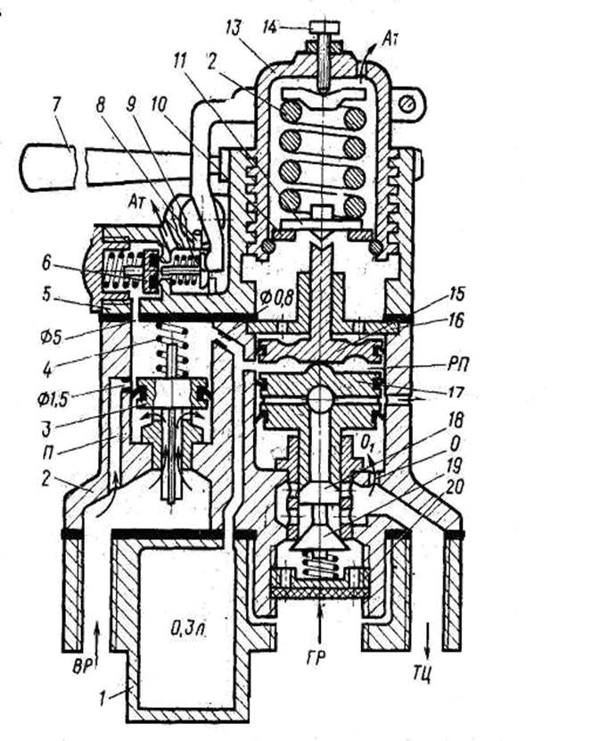
Рис. 13.

Устройство крана машиниста усл. № 395

2 — корпус нижней части; 3, 8 — резиновые манжеты; 4 — пружина впускного клапана; 5 — впускной клапан; 6 — втулка (на­правляющая) хвостовика уравнительного поршня; 7 — уравнительный поршень; 10 — корпус средней части; 11 — корпус (крышка) верхней части; 12 — золотник; 13 — ручка; 14 — фиксатор; 16 — винт; 18 — пружина; 19 — шайба; 22 — фильтр редуктора; 23 — пружина питательного клапана; 24 — питательный клапан; 25 — втулка (седло) питательного клапана; 26, 29 — корпус соответственно верхней и нижней частей редуктора; 27, 39 — металлическая диафрагма; 30, 41 — регулировочные пружины; 31 — регули­ровочный стакан; 34 — обратный клапан; 36 — возбу­дительный клапан;

 

1-Положение. Отпуск и зарядка. (рис.13). 1) Зарядка уравнительной камеры (УК)-0, 2 литра: УК заряжается двумя путями до давления главных резервуаров (ГР). 1й путь: - из ГР – в золотниковую камеру (ЗК)- через диаметр 5 мм в золотнике- в УК. 2й путь: - из ГР - в ЗК – через диаметр 3 мм в золотнике – через фильтр – клапан редуктора – в УК. Клапан редуктора открыт на максимальную величину под действием нижней (регулировочной) пружины; и в связи с отсутствием воздуха в камере над диафрагмой редуктора (Д). 2). Тормозная магистраль (ТМ) заряжается давлением ГР двумя путями: 1й путь: ГР- выемка золотника – ТМ. 2й путь: ГР – впускной клапан – ТМ. Под давлением ГР в УК – уравнительный поршень (УП) сдвигается в крайнее нижнее положение и открывает впускной клапан на максимальную величину. 3). Зарядка уравнительного резервуара (УР): из УК – отверстие диаметром 1, 6 мм в средней части крана – в УР 20 литров. 4). Стабилизатор работает в холостую т.е. медленным темпом выпускает воздух в атмосферу (АТ): УР, УК- выемка золотника – клапан стабилизатора – камера над диафрагмой стабилизатора – отверстие диаметром 0, 45 мм в корпусе стабилизатора – АТ. 5). Работа стабилизатора: Усилие пружины на диафрагму регулируется гайкой так, чтобы давление в камере над диафрагмой автоматически поддерживалось 0, 35-0, 4 кгс/см2. Если давление в камере над диафрагмой меньше усилия пружины, то пружина прогибает диафрагму вверх и открывает клапан, через открытый клапан воздух поступает в камеру над диафрагмой и под его давлением диафрагма прогибается вниз, а клапан потеряв опору снизу от диафрагмы прикрывается (вниз)- давление поддерживается стабильное.

2- положение

автоматическое поддержание зарядного давления. После ликвидации сверхзарядки, стабилизатор продолжает выпускать воздух постоянно из УР, УК и камеры Д редуктора, как только давление в камере Д станет менее чем усилие нижней пружины, то пружина прогибает диафрагму вверх открывая клапан и воздух из ЗК через отв. 3 мм в золотнике и открытый клапан редуктора поступает в УК и в УР, камеру Д. Как только давление в камере Д превысит давление нижней пружины, диафрагма прогнется вниз, а клапан редуктора закрывается. Таким образом стабилизатор постоянно создает утечку, а редуктор её пополняет и за счет этого давление в УР, УК, Д автоматическм поддерживается равным усилию пружины редуктора. Автоматическая ликвидация сверх зарядного давления. УР и полость над УП через выемку золотника постоянно сообщена с АТ через отверстие диаметром 0, 45 мм в крышке стабилизатора и открытый возбуди­тельный клапан. Темпом мягкости ликвидируется сверхзарядное давление из УР, УК, камеры Д. Как только давление в УК станет немного меньше чем в ТМ, под давлением ТМ УП поднимется вверх открывая АТ отверстие через которое ТМ сообщается с АТ и разряжается темпом мягкости Пружина стабилизатора регулируется на такое усилие, чтобы возбудитель­ный клапан был бы открыт даже при максимально возможном сверхзарядном давлении. Темп снижение менее 80 с. ослабить пружину стабилизатора. Питание утечек в ТМ. Давление под УП менее чем в УК, УП вниз перекроет АТ, разобщит ТМ с АТ. В ТМ утечки, УП вниз откроет впускной клапан-сообщит ГР с ТМ

3- положение

Перекрыша без питания. В этом положении ручки крана ТМ золотник отключает стабилизатор и редуктор, а выемка зо­лотника сообщает полость над обратным кла­паном с ТМ. При постановке ручки крана в третье положение и наличии утечек из ТМ давление под обратным клапаном (со стороны УР) становится выше, чем в ТМ. При этом обратный клапан поднимается и пропускает воздух из УР в ТМ (в полость под УП). Тем самым выравнива­ются давления над УП и под ним, и последний не питает утечки из ТМ.

Применение: в грузовых поездах - при срабатывании автотормозов в поезде на 5-7 сек.

В пассажирских поездах -на ЭПТ- в качестве перекрыши до давления в ТМ и УР 4, 5 кгс/см2 , затем перевод в 4е положение.(на авт.тормозах на красный)

В пассажирских поездах где более трети вагонов с тормозами КЕ, Эрликон перед проверкой целостности ТМ в 3е положение, после срабатывания тормозов и снижение давления в ТМ и УР перевести в 4е положение.

 

 

4- положение

Перекрыша с питаниеи. В этом положении все отверстия и выемки на зеркале перекрыты золотником и, следовательно, все объемы внутри крана (УР, ГР и ТМ)разобщены между собой. При падении давления в ТМ за счет утечек давле­ние над УП (в УР) становится выше, чем в ТМ (под поршнем). УП опускается, открывает впускной клапан и воздух из ГР начинает поступать в ТМ, обеспечивая восстановление в ней давления.

 

 

5, (5а) положение

Служебное торможение. Воздух из УР и из полости над УП через калиброванное отверстие в золот­нике диаметром 0, 75мм (в положении 5А) или ди­аметром 2, 3мм (в положении 5) выходит в АТ. При этом УП под действием давления. ТМ поднимается и своим хвостовиком, конусная часть которого выполняет роль выпускного клапана, открывает осевой АТ канал во впускном клапане, ТМ начи­нает разряжаться в АТ. Таким образом, работа крана в положении 5А и 5 отличается только темпом разрядки УР и ТМ.

Обратное увеличение давления в УР по­сле торможения называется термодинамическим эффектом. Чтобы не допустить его, следует ручку крана машиниста после V положе­ния перед установкой в перекрышу на 5—8 с задержать в положе­нии УА. Так осуществляется " подсечка термодинамического эф­фекта".

 

 

 

 

6- положение

Экстренное торможение. напрямую через золотник разряжается в АТ. УР и полость над УП двумя параллельными каналами через золотник сообщаются с АТ. Давление над поршнем понижается быстрее, чем под ним. Поэтому давле­нием ТМ, УП поднимается, открывается выпускной клапан и ТМ разряжается в АТ вторым путем.

 


Поделиться с друзьями:

mylektsii.su - Мои Лекции - 2015-2026 год. (2.043 сек.)Все материалы представленные на сайте исключительно с целью ознакомления читателями и не преследуют коммерческих целей или нарушение авторских прав Пожаловаться на материал