Студопедия

Главная страница Случайная страница

КАТЕГОРИИ:

АвтомобилиАстрономияБиологияГеографияДом и садДругие языкиДругоеИнформатикаИсторияКультураЛитератураЛогикаМатематикаМедицинаМеталлургияМеханикаОбразованиеОхрана трудаПедагогикаПолитикаПравоПсихологияРелигияРиторикаСоциологияСпортСтроительствоТехнологияТуризмФизикаФилософияФинансыХимияЧерчениеЭкологияЭкономикаЭлектроника






Расчетные нагрузки на водонепроницаемые переборки и определение их элементов






Нагрузки на поясья переборки

Принимаем max расчетную нагрузку на конструкцию переборки, т.е. нагрузку от балласта:

Pбал = 10*(zi + 2, 5), кПа;

Pн.п. = 119, 3 кПа;

Pср.п.1 = 61 кПа;

Pср.п.2 = 81 кПа;

Pср.п.3 = 101 кПа;

Pв.п. = 45 кПа;

Нагрузки на конструкции поперечной переборки принимается балластная, как наибольшая.

Расчет элементов набора переборок

Толщина поясьев переборок

min толщина поясьев переборок не должна быть менее; \:

Smin = 4 + 0, 02*L = 4 + 0, 02*163, 2 = 7, 2 мм;

Smin станд = 8 мм;

Расчетная величина толщины поясьев переборок должна быть не менее

+ ∆ S, мм;

Верхний пояс S = 10, 44 мм;

Средний пояс S = 6, 3 мм; S = 10, 64 мм; S = 11, 5 м;

Нижний пояс S = 13 мм;

Расчет элементов набора переборок

Момент сопротивления балок основного набора

m = 18; l = 3, 4 м; a = 0, 85; Pн.п. = 119, 3 кПа;

; ; , ; , кН,

=119, 3*0, 85*2, 55=345 кН;

;

W = = 254*1, 15 = 292, 1 ;

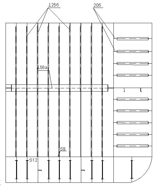
Принимается по таблицам судостроительного проката полособульб 20б.

- Момент сопротивления стоек должен быть не менее

m = 10; l = 3, 4 м; a = 0, 85;

; ; , ; , кН,

=119, 3*0, 85*3, 4 = 344 кН;

;

W9 = = 457*1, 15 = 526 ;

Принимается по таблицам судостроительного проката тавр 25б.

Момент сопротивления шельфов должен быть не менее по формуле

m = 10; l = 8, 5 м; a = 2, 55;

; ; , ; , кН,

=119, 3*2, 55*8, 5 = 2585, 82 кН;

;

W = =3366, 8*1, 15 = 3871, 82 ;

Принимается по таблицам судостроительного проката тавр 56а

Результаты расчетов представлены на (рис. 2.7).

Рисунок 2.7. Результаты расчетов на поперечную переборку


Поделиться с друзьями:

mylektsii.su - Мои Лекции - 2015-2026 год. (1.441 сек.)Все материалы представленные на сайте исключительно с целью ознакомления читателями и не преследуют коммерческих целей или нарушение авторских прав Пожаловаться на материал